HỆ THỐNG THÔNG GIÓ
Hệ thống thông gió nhằm đảm bảo điều kiện sức khỏe cho nhân viên và tăng tuổi thọ cho trang thiết bị trong nhà máy. Trong gian điều khiển trung tâm và các phòng nghỉ của cán bộ nhân viên tốt nhất giữ nhiệt độ 20 - 25 0C, tốc độ lưu chuyển không khí trong phòng không vượt quá 0,2 m/s. Trong gian động cơ, nhiệt độ động cơ tỏa ra có khi tới 500C hoặc hơn nữa, do đó hiệu suất của động cơ giảm đi rõ rệt, như số liệu sau:
Khi nhiệt độ xung quanh động cơ là 350C thì hiệu suất động cơ giảm 0%;
400C 5%;
450C 12,5%
500C 25,5%.
Phải đảm bảo cho nhiệt độ trong nhà không cao hơn nhiệt độ ngoài trời + 50C. Nhiệt độ
cao nhất trong vùng có trang thiết bị điện kỹ thuật không vượt quá 450C. Khi công suất động cơ điện kéo máy bơm chính lớn hơn 630 kW nên dùng hệ thống thông gió cưỡng bức. Việc làm nguội không khí cần phân phối đều theo chiều dài gian máy và tỷ lệ với nhiệt độ do máy sinh ra.
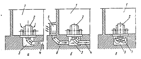
Hình 10 - 18 là hệ thống thông gió khi động cơ điện có công suất ≥ 630 kW, có thể thông gió kiểu xuyên hoặc kiểu khép kín. Kiểu xuyên dùng cho động cơ có công suất từ 630 ... 1000 kW ( xem Hình 10 - 18 ): không khí được lấy từ ngoài nhà ( Hình 10-18,δ) hoặc lấy từ gian máy ( Hình 10 - 18,a ), dùng quạt đặt trong các đường dẫn để thổi không khí nóng ra ngoài nhà máy. Thông gió kiểu khép kín dùng cho động cơ điện có công suất lớn hơn 1000 kW ( Hình 10 - 18,b ), một lượng không khí sạch được chuyển động tuần hoàn trong luồng kín và được làm nguội nhờ máy làm nguội chuyên dùng.
a,δ- hệ thống thông gió kiểu xuyên: lấy không khí từ gian máy, lấy không khí từ ngoài;
b- hệ thống thông gió khép kín, làm nguội bằng thiết bị làm nguội. 1- gian máy; 2- động cơ điện trục ngang; 3- hố móng; 4,6- tháo và dẫn không khí; 5- cửa lấy không khí từ ngoài; 7- thiết bị làm nguội không khí.
Trong các gian ắc quy, trong đó nạp điện cho ắc quy với điện áp 2,3 V cho mỗi đơn vị, cần có thông gió riêng. Trong các buồng dẫn cáp và buồng máy cắt dầu cần đặt thông gió sự cố thổi ra. Trong các buồng dầu cần đặt thông gió thổi ra độc lập . Trong các phòng điều khiển trung tâm, phòng nghỉ, ở đó nhân viên có mặt thường xuyên, có thể đặt hệ thống điều hòa. Ở các trạm bơm nhỏ, lượng nhiệt tỏa ra ít, nhiệt độ trong gian máy luôn luôn bảo đảm trong phạm vi thích hợp hoặc sàn động cơ đặt cao hơn mặt đất xung quanh nhà máy có thể bố trí nhiều cửa sổ đối xứng để thông gió cho nhà máy. Mỗi giờ phải thay đổi lượng không khí trong nhà máy ít nhất là 2 đến 3 lần.
Khi lượng không khí cần thay đổi trong một giờ lớn hơn lượng không khí thay đổi của tự nhiên thì cần phải bố trí hệ thống thông gió. Thường chọn nhiệt độ lúc 13 giờ làm nhiệt độ tính toán. Gọi W là lượng không khí cần thông gió trong 1 giờ thì:
Trong công thức ( 10 - 5 ) :
Qth là nhiệt lượng thừa, ( kcal/h ) :
trong đó:
là tổng lượng nhiệt tỏa ra từ động cơ (Qdc) và từ dây dẫn (Qdd), ( kcal/h) :
với N - công suất định mức của động cơ (kW), dc là hiệu suất độngm cơ,
là hệ số phụ tải của động cơ, n - số tổ máy chạy đồng thời. Khi động cơ làm nguội bằng thông gió khép kín thì nhiệt lượng toả ra trong buồng chỉ còn 7,5 ... 10% của công thức tính ở trên, nghĩa là 
Qdd=2160.i2, ( kcal/h ), với i là cường độ trung bình của dòng điện qua 1 mm2 tiết diện dây dẫn ( A/mm2 );
là tổng lượng nhiệt tổn thất xung quanh nhà máy:
là diện tích của tường, k là hệ số truyền nhiệt của 10C, tính ra kcal/m2 trong 1 giờ. Hệ số k lấy như sau:
C là tỷ nhiệt của không khí, bằng 0,24 kcal/kg cho 10C;
t1 là nhiệt độ cho phép lớn nhất của không khí trong buồng;
t2- nhiệt độ không khí bên ngoài đưa vào;
- trọng lượng riêng của không khí đưa vào: