Máy bơm hướng trục

MÁY BƠM HƯỚNG TRỤC.

Sơ đồ và nguyên lý hoạt động của bơm hướng trục.

Sơ đồ hoạt động của máy bơm hướng trục.

1,6- thân máy bơm và cụm ổ trục ; 2- BXCT; 3- cánh của BXCT; 4- trục; 5- cánh hướng dòng; 7,8- biểu đồ tốc độ dòng chảy v = f ( R ) sau cửa ra cánh hướng dòng và trước cửa vào BXCT; 9- phần lưu tuyến.

Trong các máy bơm hướng trục ( Hình 2 - 8* ) chất lỏng chảy qua phần chảy dọc theo mặt hình trụ, trục quay của chất lỏng là trục quay. Trước cửa vào BXCT 2 và trên cửa ra từ cánh hướng dòng 5 hướng của dòng chảy trùng với hướng trục quay 4. Máy bơm trục được sản xuất hai kiểu: cánh gắn cố định với bầu BXCT và kiểu cánh có thể quay được quanh trục của chúng. Máy bơm hướng trục có thể trục đứng và trục ngang. Kiểu trục ngang thường dùng với trạm bơm nhỏ. Máy bơm hướng trục dùng để bơm nước có thành phầnhạt lơ lửng kích thước đến 0,1 mm hàm lượng lớn hơn 0,3 %, làm việc với nhiệt độ không lớn hơn 350C. Có thể đặt làm loại bơm này có khả năng làm việc trong môi trường nhiệt độ cao hơn và chịu được hàm lượng bùn cát lớn hơn quy định trên. Bơm hướng trục là bơm có khả năng lưu lượng lớn, cột nước thấp, hiệu suất cao.

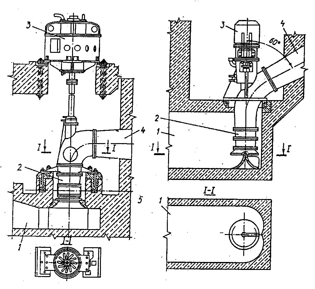
Tổ máy bơm hướng trục trục đứng gồm : bơm 2, động cơ điện 3, buồng dẫn nước 1, ống đẩy 4, ( xem hình vẽ Hình 2 - 9 ).

Các sơ đồ bố trí các bộ phận bơm hướng trục trục đứng.

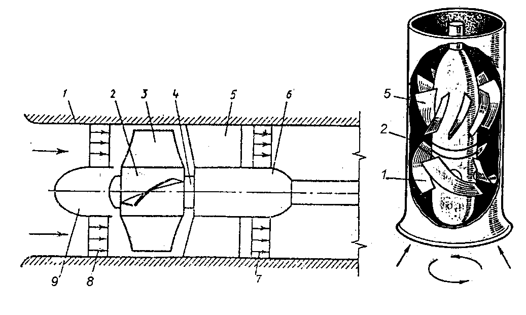
Các bộ phận của bơm hướng trục.

Dùng Hình 2 - 10 là cấu tạo của bơm hướng trục kiểu cánh cố định để mô tả các bộ phận cấu tạo bơm hướng trục và cách hoạt động của nó. Nước từ nguồn qua vòng đặt 1 và phần hướng chảy vòng 2 để vào cánh của BXCT 7. Áp lực thủy tĩnh trong máy tăng lên, phát sinh vận tốc tiếp tuyến theo phía quay của BXCT. Cơ cấu hướng 9 biến đổi vận tốc tiếp tuyến thành áp lực tỉnh và hướng dòng chảy song song với trục bơm.. Sau đó nước chảy qua doạn khuếch tán 14 vào đoạn cong 16, thường đoạn này quay dòng chảy 600 rồi nối với ống đẩy.Trục 15 có hai ổ tựa kiểu trượt 8 và 17 bạc bằng gỗ ép, bôi trơn bằng nước. Vòng chống rò 18 có tác dụng ngăn nước rò từ máy bơm ra. Động cơ điện quay ngược chiều kim đồng hồ, nhìn từ trên xuống.

Bơm hương trục cánh quay khác với bơm cánh cố định là có kích thước lớn hơn và bơm được lưu lượng lớn hơn. Cánh của BXCT quay được quanh trục riêng của nó nhờ cơ cấu truyền động. Với BXCT có đường kính đến 1,1 m thì thường dùng nguyên lý dẫn động điện, còn đối với đường kính 1,85 ... 2,6 m dùng dẫn động điện thủy lực để làm xoay góc cánh. Nhờ thế mà khi máy bơm làm việc ở chế độ khác thiết kế máy bơm thay đổi góc đặt để đưa bơm về trạng thái làm việc gần thiết kế, vùng hiệu suất cao sẽ rộng.

Cấu tạo bơm trục kiểu cánh cố định.

1- vòng đặt; 2- chỉnh hướng; 3- vòng cao su; 4- nắp; 5- buloong; 6,15- thân và trục bơm; 7- BXCT; 8,17- ổ trục hướng dưới và trên; 9- vỏ chứa cánh hướng dọng; 10- bùloong; 11- khung đỡ; 12- bộ phân chảy vòng; 13- nắp quan trắc; 14- nón khuếch tán; 16- đoạn dẫn nước vào ống đẩy; 18- vòng bít; 19- trục động cơ điện.