Một số nền phần cứng nhúng thông dụng

Một số nền phần cứng nhúng thông dụng

Trong phần này giới thiệu ngắn gọn cấu trúc nguyên lý của các chip xử lý nhúng ứng dụng trong các nền phần cứng nhúng hiện nay.

Sự phát triển nhanh chóng các chủng loại Chip khả trình với mật độ tích hợp cao đã và đang có một tác động đáng kể đến sự thay đổi trong việc thiết kế các nền phần cứng thiết bị xử lý và điều khiển số trong thập kỷ gần đây. Mỗi chủng loại đều có những đặc điểm và phạm vi đối tượng ứng dụng và luôn không ngừng phát triển để đáp ứng một cách tốt nhất cho các yêu cầu công nghệ. Chúng đang hướng tới tập trung cho một thị trường công nghệ tiềm năng rộng lớn đó là các thiết bị xử lý và điều khiển nhúng. Ở đây giới thiệu ngắn gọn về 2 chủng loại chip xử lý, điều khiển nhúng điển hình đang tồn tại và phát triển về một số đặc điểm và hướng phạm vi ứng dụng của chúng.

Có thể kể ra hàng loạt các Chíp khả trình có thể sử dụng cho các bài toán thiết kế hệ nhúng như các họ vi xử lý/vi điều khiển nhúng (Microprocessor/ Microcontroller), Chip DSP (Digital Signal Processing), các Chip khả trình trường (FPD – Field Programmable Device). Chúng ta dễ bị choáng ngợp nếu bắt đầu công việc thiết kế bằng việc tìm kiếm một Chip xử lý điều khiển phù hợp cho ứng dụng. Vì vậy cần phải có một hiểu biết và sự phân biệt về đặc điểm và ứng dụng của chúng khi lựa chọn và thiết kế. Các thông tin liên quan như nhà sản xuất cung cấp Chip, các kiến thức và công cụ phát triển kèm theo…Một số chủng loại Chip điển hình sẽ được giới thiệu.

Chip Vi xử lý/Vi điều khiển nhúng

Đây là một chủng loại rất điển hình và đang được sử dụng rất phổ biến hiện này. Chúng được ra đời và sử dụng theo sự phát triển của các Chip xử lý ứng dụng cho máy tính. Vì đối tượng ứng dụng là các thiết bị nhúng nên cấu trúc cũng được thay đổi theo để đáp ứng các ứng dụng. Hiện nay chúng ta có thể thấy các họ vi xử lý điều khiển của rất nhiều các nhà chế tạo cung cấp như, Intel, Atmel, Motorola, Infineon. Về cấu trúc, chúng cũng tương tự như các Chíp xử lý phát triển cho PC nhưng ở mức độ đơn giản hơn nhiều về công năng và tài nguyên. Phổ biến vẫn là các Chip có độ rộng bus dữ liệu là 8bit, 16bit, 32bit. Về bản chất cấu trúc, Chip vi điều khiển là chip vi xử lý được tích hợp thêm các ngoại vi. Các ngoại vi thường là các khối chức năng ngoại vi thông dụng như bộ định thời gian, bộ đếm, bộ chuyển đổi A/D, giao diện song song, nối tiếp…Mức độ tích hợp ngoại vi cũng khác nhau tuỳ thuộc vào mục đích ứng dụng sẽ có thể tìm được Chip phù hợp. Thực tế với các ứng dụng yêu cầu độ tích hợp cao thì sẽ sử dụng giải pháp tích hợp trên chip, nếu không thì hầu hết các Chip đều cung cấp giải pháp để mở rộng ngoại vi đáp ứng cho một số lượng ứng dụng rộng và mềm dẻo.

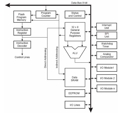
Hình 3.1: Kiến trúc nguyên lý của VĐK với cấu trúc Havard

Hình 3.2: Kiến trúc của họ VĐK AVR

Chip DSP

DSP vẫn được biết tới như một loại vi điều khiển đặc biệt với khả năng xử lý nhanh để phục vụ các bài toán yêu cầu khối lượng và tốc độ xử lý tính toán lớn. Với ưu điểm nổi bật về độ rộng băng thông của bus và thanh ghi tích luỹ, cho phép ALU xử lý song song với tốc độ đọc và xử lý lệnh nhanh hơn các loại vi điều khiển thông thường. Chip DSP cho phép thực hiện nhiều lệnh trong một nhịp nhờ vào kiến trúc bộ nhớ Havard.

Thông thường khi phải sử dụng DSP tức là để đáp ứng các bài toán tính toán lớn và tốc độ cao vì vậy định dạng biểu diễn toán học sẽ là một yếu tố quan trọng để phân loại và được quan tâm. Hiện nay chủ yếu chúng vẫn được phân loại theo hai kiểu là dấu phảy động và dấu phảy tĩnh. Đây cũng chính là một yếu tố quan trọng phải quan tâm đối với người thiết kế để lựa chọn được một DSP phù hợp với ứng dụng của mình. Các loại DSP dấu phảy tĩnh thường là loại 16bit hoặc 24bit còn các loại dấu phảy tĩnh thường là 32bit. Một ví dụ điển hình về một DSP 16bit dấu phảy tĩnh là TMS320C55x, lưu các số nguyên 16bit hoặc các số thực trong một miền giá trị cố định. Tuy nhiên các giá trị và hệ số trung gian có thể được lưu trữ với độ chính xác là 32bit trong thanh ghi tích luỹ 40bit nhằm giảm thiểu lỗi tính toán do phép làm tròn trong quá trính tính toán. Thông thường các loại DSP dấu phảy tĩnh có giá thành rẻ hơn các loại DSP dấu phảy động vì yêu cầu số lượng chân Onchip ít hơn và cần sử dụng lượng silicon ít hơn.

Ưu điểm nổi bật của các DSP dấu phảy động là có thể xử lý và biểu diễn số trong dải phạm vi giá trị rộng và động. Do đó vấn đề về chuyển đổi và hạn chế về phạm vi biểu diễn số không phải quan tâm như đối với loại DSP dấu phảy tĩnh. Một loại DSP 32bit dấu phảy tĩnh điển hình là TMS320C67x có thể xử lý và biểu diễn số gồm 24bit mantissa và 8bit exponent. Phần mantissa biểu diễn phần số lẻ trong phạm vi -1.0 → +1.0 và phần exponent biểu diễn vị trí của dấu phảy nhị phân và có thể dịch chuyển sang trái hoặc phải tuỳ theo giá trị số mà nó biểu diễn. Điều này trái ngược với các thiết kế trên nền DSP dấu phảy tĩnh, người phát triển chương trình phải tự qui ước, tính toán và phân chia ấn định thang biểu diễn số và phải luôn lưu tâm tới khả năng tràn số có thể xảy ra trong quá trình xử lý tính toán. Chính điều này đã gây ra khó khăn không nhỏ đối với người lập trình. Nói chung phát triển chương trình cho DSP dấu phảy động thường đơn giản hơn nhưng giá thành lại cao hơn nhiều và năng lượng tiêu thụ thông thường cũng lớn hơn.

Ví dụ độ chính xác của DSP dấu phảy động 32 bit là 2−23 với 24 bit biểu diễn phần mantissa. Vùng động là (1.18 ×10−38 ≤ x ≤ 3.4 × 1038).

Những nhà thiết kế hệ thống phải quyết định vùng và độ chính xác cần thiết cho các ứng dụng. Các vi xử lý dấu phảy động thường được sử dụng cho các ứng dụng yêu cầu về độ chính xác cao và dải biểu diễn số lớn phù hợp với hệ thống có cấu trúc bộ nhớ lớn. Hơn nữa các DSP dấu phảy động cho phép phát triển phần mềm hiệu quả và đơn giản hơn bằng các trình biên dịch ngôn ngữ bậc cao như C do đó có thể giảm được giá thành và thời gian phát triển. Tuy nhiên giá thành lại cao nên các DSP dấu phảy động phù hợp với các ứng dụng khá đặc biệt và thường là với số lượng ít.