Tế bào chất (Cytoplasma)

Tế bào chất là thành phần cơ bản bao xung quanh nhân, không bào và chứa các thể ẩn nhập, bao gồm hai phần khác nhau: Thể trong suốt (hyaloplasma) không có cấu trúc và thể hình thái có cấu trúc (morphoplasma) được bao bọc bên ngoài bởi màng sinh chất trừ trung thể hay còn gọi là trung tâm tổ chức của vi quản, không có màng sinh chất bao quanh các trung thể. Như chúng ta đã biết, các sinh vật có cấu trúc hoá học rất phức tạp, từ những chất đơn giản đến các đại phân tử sinh học. Tuy nhiên, chỉ các chất hoá học phức tạp chưa đủ để có hoạt động sống, chúng phải được tổ chức lại trong các phức hệ phân tử của nhiều bào quan với những chức năng chuyên biệt khác nhau để hình thành tế bào nhân thực. Đó là sự khác biệt rất cơ bản giữa tế bào sinh vật nhân sơ và tế bào sinh vật nhân thực.

Tính chất lý học và thành phần hóa học của tế bào chất

+ Thể trong suốt là thành phần không có hình thái cấu trúc của tế bào chất, nó là nền đồng nhất, trong suốt chứa mạng lưới tua vách. Thể trong suốt tương ứng với bào tương (cytosol) ở trạng thái sol, nghĩa là nếu sau khi ly tâm siêu tốc phân hoá, phần nổi lên trên cùng là bào tương (cytosol). Thể trong suốt có tổ chức nếu chứa bộ khung sườn tế bào, ngoài ra nó có thể chứa thể vùi như lạp tạo bột, hạt alơrôn, giọt dầu và các sản phẩm trao đổi chất cuối cùng.

- Thành phần thể trong suốt:

Thể trong suốt chiếm gần một nửa khối lượng của tế bào. Thể trong suốt có nhiều nước, có thể đến 85%. Sau nước, protein là thành phần chủ yếu. Thể trong suốt chứa đựng một số lượng protein sợi xếp thành bộ khung tế bào. Trong thể trong suốt có hàng nghìn enzim và chứa đầy riboxom để tổng hợp protein. Gần một nửa số enzim được tổng hợp trên các riboxom là các protein của thể trong suốt. Do đó, nên coi thể trong suốt là một khối gel có tổ chức rất cao, hơn là một dung dịch chứa enzim.

Ngoài protein, trong thể trong suốt còn có các loại ARN như ARNt, ARNm chiếm 10% ARN của tế bào. Trong thể trong suốt còn có sự hiện diện của các chất như gluxit, axit amin. nucleosit, nucleotit và các ion. Thỉnh thoảng trên nền đồng nhất có các hạt dầu, hạt tinh bột với số lượng thay đổi và có thể mang từ vùng này sang vùng khác tuỳ hoạt tính của tế bào.

- Chức năng thể trong suốt: thể trong suốt giữ nhiều chức năng quan trọng như:

• Nền môi trường, làm nơi thực hiện các phản ứng trao đổi chất của tế bào, là nơi gặp nhau của các chuổi phản ứng trao đổi chất. Sự biến đổi trạng thái vật lý của thể trong suốt có thể ảnh hưởng đến hoạt động của tế bào.

• Nơi thực hiện một số quá trình điều hoà hoạt động của các chất.

• Nơi chứa các vật liệu dùng cho các phản ứng tổng hợp các đại phân tử sinh học như gluxit, axit amin, các nucleotit.

• Nơi dự trữ các chất năng lượng như gluxit, lipit, glycogen.

Cấu tạo hiển vi và siêu hiển vi của tế bào chất

Bộ khung trong tế bào

Bộ khung trong tế bào bao gồm các vi sợi actin, myosin, các sợi trung gian, và các vi quản là hệ thống cấu trúc bên trong tế bào tạo thành mạng lưới không gian ba chiều trong tế bào chất, cần cho sự định hình kiểm soát hình dạng và đồng thời hỗ trợ cho sự vận động không những bên trong mà cả bản thân tế bào. Bộ khung trong tế bào là thành phần của tế bào chất, có thể quan sát dưới kính hiển vi huỳnh quang hoặc dưới kính hiển vi điện tử. Chúng có chức năng sau:

  • Tạo ra hình dáng đặc trưng cho các kiểu tế bào và mô
  • Hình thành các thể sao để định vị các tổ chức bên trong tế bào (tế bào động vật).
  • Hình thành các thoi vô sắc trong phân bào để phân phối các nhiễm sắc thể về hai cực tế bào.
  • Hình thành các thể sinh màng.
  • Tạo ra các dòng chảy trong tế bào, sự di chuyển tế bào, do sự trượt tương đối các sợi actin và myosin

+ Vi quản: có dạng hình trụ ống, đường kính 25nm, dài 0,1μm đến hàng chục μm, thành vi quản dày 5nm, được cấu tạo bởi 13 tiền sợi, mỗi tiền sợi có đường kính 5nm. Các tiền sợi được cấu tạo bởi phân tử có trọng lượng phân tử 55 kd. Phân tử này là chất dị trùng phân đôi gồm 2 đơn phân khác nhau, liên kết với nhau nhờ GTP đó là tubilin α và tubilin β, liên kết với nhau theo trục dọc của vi quản, tạo nên cấu trúc phân cực. Các vi quản phần lớn không ở trạng thái tỉnh mà ở trạng thái động, thường xuyên phân giải và trùng phân mới. Các chất dị trùng phân đôi có khả năng tự trùng phân thành vi quản tại trung tâm tổ chức của vi quản và tự phân giải dưới tác dụng của nhiệt độ 370C, nồng độ tubilin giảm, giảm ion canxi và một số yếu tố khác còn chưa biết. Sự liên kết các vi quản giữa chúng tạo thành 9 nhóm ba để tạo thành trung tử hoặc liên kết thành 9 nhóm đôi với 2 vi quản đơn ở giữa để tạo thành tiên mao hoặc tiêm mao (lông của vi khuẩn chỉ có một vi quản). Các vi quản liên kết với nhau nhờ các protein đặc thù dynein và nexin. Dynein là protein ATP cho phép các vi quản trượt tương đối lên nhau. Giữa các nhóm vi quản có các cầu nối liên kết với nhau nhờ các protein nexin .

Sơ đồ các liên kết giữa các vi quản 3 của trung tử

Thể sao có trong các tế bào động vật, thực vật đơn bào bao gồm các trung tử, khối vật chất vô định hình bao quanh trung tử và các vi quản thể sao phát ra từ trung thể. Nó có chức năng kiểm tra sự định vị của các bào quan trong tế bào và tác động qua lại với màng.

Các thoi phân bào của động vật và thực vật đơn bào được hình thành từ trung thể, còn ở thực vật bậc cao các thoi phân bào được hình thành từ các cực phân bào và có thể xem cực phân bào là trung thể không có trung tử.

Các vi quản còn có vai trò dịch các thông tin hoocmôn và tham gia sự phân phối các chất nhận của màng.

+ Các vi sợi: các vi sợi có đường kính thay đổi từ 3 - 8nm và có trong tất cả các tế bào.

Các sợi actin nhỏ, có đường kính 8nm, là các phân tử protein được tạo nên do sự đa trùng phân trong các điều kiện nồng độ cao của Mg++. Đó là các sợi đa trùng phân rất mảnh, dài xoắn vào nhau như dây thừng. Đôi khi các sợi actin được kết hợp với sợi myosin, nó cũng là những sợi dài giống sợi actin, nhưng ở một đầu có mấu lồi khi myosin biến hình có thể làm các sợi trượt tương đối với nhau (hình 15). Khả năng của một sợi này vận động tương đối so với sợi kia là cơ sở của nhiều kiểu vận động như sự di chuyển của các tế bào nấm nhầy, amíp, sự hình thành thể sinh màng, sự eo thắt tế bào khi phân chia. Các vận động này sẽ ngừng lại nếu tế bào bị xử lý bởi chất cytochalasin B, làm biến tính sợi actin. Các vi sợi chỉ có actin đóng vai trò cấu trúc, chúng tạo nên khung sườn tế bào, duy trì hình dạng tế bào. Các vi sợi làm thành từng bó hay thành từng tấm nằm dưới màng sinh chất. Các vi sợi có cấu tạo gần giống với các actin bởi vì chúng nhận biết bởi các kháng thể chống actin. Có khoảng vài chục protein có khả năng liên kết với các vi sợi. Chẳng hạn như myosin, villin, spectrin ... Một số protein có mặt trong tất cả các kiểu tế bào, một số khác chỉ có mặt trong các tế bào chuyên hoá đặc thù. Chúng có các chức năng khác nhau như điều chỉnh sự lắp ráp của các vi sợi, cấu tạo bó, néo các vi sợi với các vùng đặc thù của màng.

Sơ đồ các vi sợi của bộ khung sườn tế bào chất

Spectrin là một kiểu protein kéo dài làm thành 2 chuổi α, β (trọng lượng phân tử bằng 240Kda, 220 Kda, quấn vào nhau. Bộ khung sườn gắn với màng bởi protein néo là ankyrin, nó liên kết với chuổi β của spectrin, đầu khác liên kết với protein màng gọi là protein 3.([link])

  • Các sợi trung gian, có đường kính từ 8 - 14nm. Chúng được cấu tạo từ các phân tử không đều, có dạng sợi chỉ, trọng lượng phân tử thay đổi giữa 40 - 200Kda. Các protein này tập trung giữa chúng để hình thành các chất đa trùng phân vững bền hơn vi quản và vi sợi. Các sợi trung gian có sự phân bố theo sự phân bố của vi quản. Chúng có trong các mô chuyên hoá đặc thù.
  • Mạng lưới tua vách là mạng lưới không gian ba chiều nằm trong tế bào chất mà các vi sợi khác nhau và các bào quan được định vị trên chúng.

Các bào quan dạng màng và hạt

Các bào quan dạng màng và hạt thuộc hệ thống cấu trúc nội bào, phân hoá trong tế bào chất, gồm những màng có chức năng khác nhau, nhưng chúng đều liên thông trực tiếp hay gián tiếp với nhau qua những túi vận chuyển. Hệ thống các cấu trúc màng nội bào có quan hệ với màng ngoại chất và có nguồn gốc từ chúng.

Mạng lưới nội chất và riboxôm

Mạng lưới nội chất là một hệ thống túi dẹp có trong tất cả tế bào nhân thực. Mạng lưới nội chất được tạo ra từ một màng duy nhất là một phiến mỏng, kéo dài liên tục, gấp nếp nhiều lần, phân nhánh phức tạp, bao thành các khoang rỗng trong màng kéo thành mạng lưới chiếm hơn một nữa số lượng màng trong tế bào. Các khoang trống trong màng được gọi là tia của lưới nội chất hay túi chứa, chúng chiếm 10% thể tích của tế bào ([link]). Màng của lưới nội chất tách các tia với thể trong suốt. Ngược lại, các tia của lưới nội chất và bộ máy Golgi tách nhau bởi hai màng. Mạng lưới nội chất chia ra làm hai loại: mạng lưới trơn và có hạt. Trên bề mặt mạng lưới có hạt có nhiều riboxôm. ([link])

Sơ đồ không gian ba chiều của mạng lưới nội chất có hạt và mạng lưới nội chất trơn

Hai mũi tên chỉ ra sự liên thông thương giữa mạng lưới nội chất có hạt và mạng lưới nội chất trơn.

  • Mạng lưới nội chất có hạt có tỷ lệ protit/lipit cao hơn màng ngoại chất, cholesterol chiếm tỷ lệ thấp, nên màng của chúng linh động hơn. Phophatidylcholin chiếm trên 50%. Màng mạng lưới nội chất có hạt có các enzim như gluco-6-phophataza, nucleositphotphataza, glucôsyltransferaza, chúng tham gia vào các quá trình thuỷ phân. Ở các tế bào tổng hợp protein mạnh thì số lượng riboxôm nhiều. Sự tổng hợp các phân tử protein cấu tạo màng ngoại chất và màng các bào quan đều liên quan đến mạng lưới nội chất có hạt. Mạng lưới nội chất có hạt cũng tổng hợp phopholipit và cholesterol tham gia cấu tạo nên màng ngoại chất hoặc không ngừng đổi mới chúng.
  • - Mạng lưới nội chất không hạt có lượng cholesterol và phophatidylcholin cao hơn, chiếm trên 50% tổng số lipit. Trên màng và trong túi có chứa chiều enzim tổng hợp các lipit phức tạp. Các tuyến nhờn là nơi tổng hợp các lipit mạnh nhất, ở đó có nhiều mạng lưới nội chất không hạt.

Chức năng của mạng lưới nội chất không hạt là tổng hợp phopholipit, các axit béo.

Tóm lại, mạng lưới nội chất là trung tâm sản xuất protein, lipit và chuyển sang bộ máy Gogli để biến đổi và phân phối đến các nơi khác trong tế bào.

Các bọng Golgi mặt Cis

- Riboxôm là phức hệ phân tử, tạo thành các hạt bé, nơi tổng hợp các mạch polypeptit. Mỗi ribôxôm gồm hai phân đơn vị: một lớn và một nhỏ. Mỗi đơn vị là phức hợp gồm ARNr, các enzim và các protein cấu trúc. Ở sinh vật tiền nhân (riboxôm 70S) gồm hai phân đơn vị 50S và 30S: Phân đơn vị lớn gồm 2 phân tử ARNr và có 35 protein, phân đơn

[link] Sơ đồ cấu tạo không gian 3 chiều của bộ máy Golgi. Cấu trúc siêu hiển vi bộ máy Golgi của tế bào động vật có vú. Các dictyosom khác nhau được nối với nhau, bởi các ống nối bằng cách hợp nhất các túi ở mặt trans để cấu tạo nên bộ máy Golgi. Cách sắp xếp này được làm sáng tỏ bởi Rambourrg vị nhỏ có ARNr và khoảng 20 protein. Các đơn vị này khi lắp ráp lại với nhau thì sẽ có một cấu trúc hoạt tính, có khả năng tổng hợp protein.Ở sinh vật nhân thực, riboxôm 80S được lắp ráp từ hai phân đơn vị 40S và 60S. Các riboxôm 80S gắn vào mạch ARNm tạo thành polyxôm. Ở nhiều tế bào thì những đơn vị chức năng có hiệu quả để tổng hợp protein là nhóm có 5- 6 riboxom hoặc poliriboxôm. Khi không thực hiện tổng hợp, các phân đơn vị tách rời ra trong tế bào chất, Ở E.coli có gần 6.000 riboxôm. Người ta thấy rằng, kích thước riboxôm của vi khuẩn rất giống với riboxôm có trong ty thể, lục lạp. Nhìn chung riboxôm từ sinh vật thấp đến bậc cao khá đồng nhất về cấu tạo và thành phần hoá học đặc biệt là protein, nhưng ARN - riboxôm có thể có giao động lớn.

Bộ máy Golgi (Golgi apparatus hay Golgi complex)

Bộ máy Golgi được phát hiện từ năm 1898 bởi Golgi. Nó thường nằm gần nhân tế bào hay ở cạnh trung thể. Bộ máy Golgi bao gồm các dictyosom mà mỗi dicyosom gồm nhiều túi nhỏ dẹp, được giới hạn bởi một màng, xếp chồng lên nhau không có riboxôm ([link]). Mỗi dictyosom thường gồm 4-6 túi nhỏ có đường kính gần 1μm là đơn vị hoạt động của bộ máy Golgi. Trong một tế bào các dictyosom nối với nhau bởi các ống để cấu tạo nên bộ máy Golgi. Ở tế bào thực vật, bộ máy Golgi chỉ có một dictyosom, nên bộ máy Golgi ở tế bào thực vật còn gọi là dictyosom. Các bọng tròn nhỏ, đường kính 50nm, có màng bao bọc, nằm rải rác xung quanh các chồng túi của bộ máy Golgi. Mỗi dictyosom có hai mặt: mặt cis và mặt trans giữa các mặt đó có các bể chứa chồng lên nhau:

Các cực khác nhau của các dictyosôm

  • Mặt cis (mặt lồi) quay về phía mạng lưới nội chất và các bọng chuyển từ mạng lưới nội chất sang. Màng mạng lưới nội chất có hạt có quan hệ với mặt cis và thường không có riboxom.
  • Mặt trans (mặt lõm) có quan hệ với các bọng có vỏ bọc, với bọng trơn và với các không bào tiết.

Các túi dẹp các bộ máy Golgi làm nhiệm vụ biến đổi, chọn lọc và đóng gói các đại phân tử sinh học mà sau đó được tiết ra ngoài hay được vận chuyển đến các bào quan khác.

Nhiệm vụ của bộ máy Golgi là hoàn tất một số công việc của mạng lưới nội chất. Các protein từ mạng lưới nội chất chuyển sang có thể được biến đổi tiếp tục (glucô hoá, sulfát hoá, photphorin hoá ...) Bộ máy Golgi cũng biến đổi glycan và cho chúng thoát ra qua các túi nhờn. Các bọng nhỏ làm nhiệm vụ vận chuyển vật liệu giữa bộ máy Golgi và các thành phần khác của tế bào.

Các vi thể: Peroxysom và Glyoxysom

  • Peroxysom có cấu tạo túi cầu nhỏ, đường kính 0,2 -0,5μm, chỉ bao bọc một màng đơn như lysoxom. Trong quá trình trao đổi chất một số phản ứng oxy hoá trong tế bào làm phân huỷ các axit amin, các lipit hình thành nên nước oxy già và nhiều chất độc khác. Trong peroxysom chứa các enzim oxy hoá tự sản sinh và xúc tác cho các phản ứng oxy hoá phân huỷ các chất độc, các H2O2.
  • Glyoxysom: là một vi thể khác chứa các enzim phân huỷ lipit thực vật thành đường nuôi cây con. Bào quan này chỉ có ở thực vật. Có thể nói glyoxysom là peroxysom của thực vật.

Tính chất sinh lý của tế bào chất

+ Tính thấm

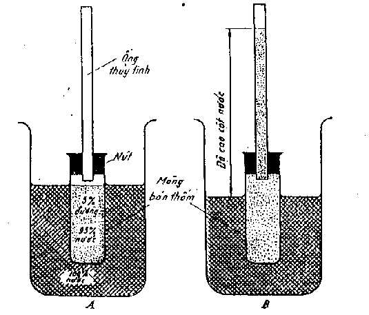
Nồng độ các chất tập trung bên trong tế bào cao hơn môi trường ngoài. Nếu không có màng bao bọc giữ lại, các chất bên trong sẽ khuyếch tán ra môi trường bên ngoài. Như vậy, màng tế bào là vật cản duy trì trật tự hoá học trong tế bào, ngoài ra, các chất đi qua lại màng, cần có năng lượng tự do. Màng gọi là màng thấm có chọn lọc hay bán thấm khi các phân tử chất này qua được mà phân tử chất khác không qua được. Sự di chuyển của một dung môi thường là nước qua màng thấm chọn lọc từ chỗ có nồng độ các chất thấp hơn gọi là sự thẩm thấu. Nồng độ đường ví dụ 5% trong ống có màng bán thấm bao bọc gọi là nồng độ thẩm thấu ([link]).

Thẩm thấu và áp suất thẩm thấu

A. Đỗ dung dịch đường 5% vào túi làm bằng màng bán thấu (ví dụ bằng xelofan) treo trong nước. Các phân tử nước khuếch tán vào túi làm cho cột nước trong ống thuỷ tinhdâng cao. Các phân tử đường lớn hơn và vì vậy không thể đi qua màng xelofan.

B. Khi đạt cân bằng, áp suất cột nước trong ống bằng đúng với áp suất thẩm thấu của dung dịch đường và dùng làm mức đo áp suất ấy.

Nước sẽ di chuyển từ chổ nồng độ thẩm thấu thấp vào chỗ có nồng độ cao hơn. Nồng độ thẩm thấu phụ thuộc tổng các phần tử hoà tan trong một đơn vị thể tích, trong trường hợp có nhiều chất khác nhau hoà tan. Nước di chuyển qua màng bán thẩm về phía có nồng độ dung dịch cao hơn do áp suất thẩm thấu. Áp suất của cột nước trong ống được dùng làm mức đo áp suất thẩm thấu của dung dịch đường. Dung dịch đường có nồng độ cao hơn sẽ có áp suất thẩm thấu cao hơn.

Thẩm tích và thẩm thấu chỉ là hai dạng đặc biệt của khuếch tán là những hiện tượng rất căn bản cho hoạt động sống của tế bào. Thẩm tích là sự khuếch tán của các phân tử hoà tan qua màng bán thấm. Nếu tế bào rơi vào môi trường có nồng độ thẩm thấu cao hơn gọi là dung dịch ưu trương, nước sẽ đi ra ngoài tế bào, làm tế bào co lại. Nếu tế bào nằm trong dung dịch nhược trương có nồng độ thẩm thấu thấp hơn tế bào, nước vào trong tế bào làm phồng lên. Dung dịch có nồng độ thẩm thấu bằng với nồng độ thẩm thấu của tế bào gọi là đẳng trương. Môi trường sống của nhiều tế bào, nhất là dịch cơ thể thường đẳng trương. Nhiều chất di chuyển vào và ra khỏi tế bào chỉ nhờ khuếch tán đơn giản. Tốc độ khuếch tán phụ thuộc vào kích thước, hình dạng của phân tử, vào điện tích của chúng và nhiệt độ. Khi nhiệt độ tăng, các phân tử chuyển động nhanh hơn và tốc độ khuếch tán tăng.

+ Sự vận chuyển có chọn lọc của các phân tử

Sự tham gia với số lượng lớn của lipit vào cấu trúc màng, giải thích vì sao các phân tử nhỏ của các chất tan trong lipit có thể khuếch tán vào và ra khỏi tế bào, nhưng sự thấm qua màng của các chất không tan trong lipit thì lại phụ thuộc vào các protein màng.

Màng tế bào tương đối không thấm đối với phần lớn các phân tử lớn phân cực. Điều này là một ưu thế vì đa số các chất chuyển hoá trong tế bào đều phân cực, không thấm qua màng, ngăn chúng thoát ra ngoài bằng khuếch tán.

Nguồn gốc của hệ thống màng sinh chất tế bào, mh= màng kép nhân; ER=mạng lưới nội chất; sz= thể cầu;pl=màng ngoại chất; t= màng nội chất; i=thể khởi sinh; m= ty thể; p= lạp thể; d=dictyosom; Go= bọng Golgi; l=lizosom