Thiết bị siêu nhạy sử dụng cho đo lường cơ học của tơ cơ

Đây là một hệ thống thiết bị mới được sử dụng để đo lường cơ cấu cơ học của tơ cơ. Nguyên tắc hoạt động của các bộ cảm biến của hệ thống này là việc thực hiện gắn các tơ vơ với một sợi dây dẫn cứng treo trong một từ trường. Các mạch hồi tiếp sẽ đưa dòng điện truyền qua dây dẫn nhằm duy trì được độ dài không đổi của tơ cơ khi tơ cơ co lại. Vị trí của dây được đo bằng hệ thống quang với độ phân giải dưới 1Ao. Hệ thống đo tơ cơ bao gồm 2 cảm biến độc lập và có khả năng chuyển sức căng xuống dưới 0,5 ng/sqrt(Hz) và điều khiển độ dài của tơ cơ với tốc độ tăng theo thời gian khoảng 10us. Các thiết kế quang học và điện tử của hệ thông và các bước hiệu chỉnh cũng sẽ được mô tả chi tiết dưới đây. Thiết kế đầu đo thí nghiệm, bộ điều khiển luồng và phương pháp loại bỏ nhiễu môi trường cũng được đề cập

Cho đến gần đây, các thí nghiệm cho cấp độ bé nhất đã được thực hiện trong các thí nghiệm về đo cơ học của sarcomere có liên quan tới các đáp ứng động với tốc độ đáp ứng rất cao trong các sợi cơ đơn của cơ xương (thông thường đường kính của nó khoẳng từ 50 cho tới 100 um) mà các sợi cơ này thực hiện tạo ra các lực tương ứng với khoảng 100mg. Tuy nhiên, việc làm sáng tỏ cơ cấu cơ học của các sợi cơ đơn cũng có thể bị che khuất bởi một số các phản ứng bất thường của các sarcomere. Các đáp ứng sức căng đối với các kích thích hoá học và cơ học trong tơ cơ đơn chỉ chứa đựng có 10 đến 20 sarcomere có thể cải thiện được quá trình phân tích cơ cấu của sarcomere. Tuy nhiên, nó không chỉ bao gồm mức độ khó liên quan tới tách tơ cơ đơn khoẻ mạnh cách ly từ bó cơ lớn mà nó còn đòi hỏi một yêu cầu cực kỳ cao đối với các cảm biến lực và khống chế chiều dài. Các yêu cầu đều dành cho các mục đích:

1) Dải lực đo: 0-100ug

2) Độ phân giải lực: 0,1 ug trên tất cả dải tần yêu cầu

3) Dải tần lực: ít nhất là 1kHz nhưng kéo lên tới 50kHz có thể đòi hỏi cho các thí nghiệm có độ nhạy cao

4) Độ phân giải điều khiển độ dài: lớn hơn 50nm trong cả dải tần yêu cầu

5) Dải tần điều khiển độ dài: Ít nhất là 3kHz nhưng kéo lên tới 50kHz cho các thí nghiệm có độ nhạy cao.

Các yêu cầu thậm chí sẽ khắt khe hơn khi đo đạc dao động sức căng tạo ra bởi chu trình cấu trúc cầu nối mà tại đó mức độ phân giải lực cần phải đạt mức 1ng / sqrt(Hz).

Các phương pháp đo cơ cấu tế bào đơn và các bó nhỏ của các tơ cơ cũng đã được đề cập tới nhiều nhưng vấn đề chính lại là mức độ tương phụ thuộc của các cảm biến lực (nhằm tăng độ nhạy) đối với sự hạn chế về băng tần. Một vấn đề khác cùng với các thiết kế thông thường là việc thực hiện điều khiển độ dài với một tốc độ đáp ứng và độ phân giải chưa thực sự cao. Thành công mới trong cấu trúc các thiết bị thí nghiệm phù hợp với việc phân tích thuộc tính cơ học của tơ cơ sẽ được chỉ ra ở dưới đây.

Nguyên tắc hoạt động

Tất cả các cảm biến thực hiện cảm nhận sự thay đổi vị trí (hay sức căng) đối với tác dụng của lực. Một vấn đề chung trong các cảm biến lực là phân biệt điểm cảm biến và điểm của lực tác dụng. Mối liên kết giữa hai điểm này làm suy giảm tần số đáp ứng với các hoạt động do bộ lọc cơ học có khối lượng và mức độ co giãn riêng của nó. Một điểm chú ý quan trọng là phương pháp gắn sợi cơ. Thông thường đường kính của một tơ cơ là khoảng từ 1-2um và một tế bào cơ tim đơn lẻ nhỏ chỉ khoảng 3 đến 10um. Chúng quá yếu đối với các phương pháp kẹp cơ học và cần phải được gắn rất chắn trong khi chúng lại quá mềm tại thời điểm gắn và lại cứng lại rất nhanh trong nước.

Nguyên lý đo lực

Thiết kế cảm biến được mô tả trong hình 1. Một tơ cơ (hoặc một tế bào cơ nhỏ) được gắn với hai dây dẫn rất nhỏ treo song song với nhau. Từ trường cung cấp vuông góc với mặt phẳng dây và tơ cơ. Vị trí của hai dây được xác định bởi các phôtô điốt riêng rẽ và độ lệch vị trí các dây sẽ được xác định khi tơ cơ co lại. Các dòng điện được truyền qua các hướng và giá trị biên độ lực điện từ sẽ được xác định thông qua tương tác giữa dòng điện trong hai dây dẫn và mật độ thông lượng từ trường một cách chính xác tương ứng với lực của tơ cơ. Do đó, vị trí của dây duy trì một trạng thái tĩnh ảo khi đặt dưới sự quản lý của một mô tơ servo và độ cứng của dây dẫn sẽ tăng lên theo bậc mũ 3 của biên độ. Biên độ dòng điện tỷ lệ thuận với lực của tơ cơ. Trên thực tế, một dây dẫn sẽ hoạt động như là một cảm biến lực và một dây còn lại được coi như là cảm biến điều khiển độ dài thông qua việc tối ưu hoá mạch điều kiển cho mô tơ servo.

Các vấn đề quan tâm tới thiết kế

Sơ đồ khối của hệ thống

Sơ đồ hệ thống đo

Sơ đồ tổng quan của hệ thống được chỉ ra ở trong hình 2. Ánh sáng được điều chỉnh từ một đèn halogen được chiếu qua một vòng nam châm mà nam châm này tạo ra một từ trường theo chiều dọc vuông góc với tơ cơ. Ánh sáng truyền qua tơ cơ đầu tiên được phân chia bởi một tấm phim mỏng và 5% ánh sáng của nó được truyền tới khu vực mắt quan sát. Phần năng lượng còn lại 95% được phản xạ bởi một gương phẳng và chiếu tới 3 bộ phát hiện quang khác nhau. 30% trong số ánh sáng phản xạ được truyền qua một khe hở biến đổi được và truyền qua một ống kính trụ tròn có khả năng tập trung các điểm ảnh cảu tơ cơ trên một mảng điốt quang bao gốmg 1024 phần tử nhằm tạo ra ảnh video của mỗi sarcomere theo thời gian thực. Ánh sáng còn lại là hình chiếu tối của mỗi sợi dây tương ứng với các bộ phát hiện. Mỗi bộ phát hiện vị trí sợi dây có thể điều khiển một cách độc lập bởi một môtơ siêu nhỏ điều khiển từ xã mà nó có khả năng điều chỉnh vị trí gốc tới chính giữa ảnh của sợi dây.

Phần quang

Trong hệ thống này, người ta chọn kính hiển vi kiểu M-101F do thiết kế đơn giản của nó và nó cho phép thực hiện những thay đổi mới trong một phạm vi rộng hơn. Đế được thay thế bởi một tấm hợp kim nhôm kích thước 38x38x1.25 được khoan các lỗ để gắn được tất cả các thành phần. Độ cứng vững cơ khí và ổn định nhiệt là điều cực kỳ quan trọng để đảm bảo phát hiện được các thay đổi nhỏ cỡ Ao đối với vị trí của sợi dây. Tất cả các thiết bị hỗ trợ và phụ trợ đều được chế tạo từ nhôm và được điều chỉnh thông qua đồng hồ đo cỡ micro hay các đinh vít hiệu chỉnh cực kỳ chính xác.

Phần nam châm

Yêu cầu đối với từ trường bao gồm:

1) Dạng đường sức từ song song và chuẩn trong vùng khối kích thước khoảng 1mm3.

2) Mật độ thông lượng khoảng vài trăm Gauss (làm giảm yêu cầu đối với dòng điều khiển)

3) Không có vật cản trở đối với ánh sáng chiếu.

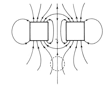
Vật liệu nam châm là một hợp kim cobalt hiếm dạng tròn với đường kính trong là 6,5mm và đường kính ngoài là 12,5 mm, độ dày là 10mm. Phân bố từ trường nam châm chia làm 2 vùng (6mm từ trên xuống dưới) them trục trung tâm có dạng chuẩn, đường sức từ song song như chỉ ra trong vùng vòng tròn đứt nét. Mật độ thông lượng trong vùng chuẩn khoảng 600G. Nam châm dạng vòng này có thể được chuyển ra xa trước khi thực hiện các thí nghiệm. Theo quan sát, không có ảnh hưởng của từ trường lên tơ cơ.

Bộ phát hiện vị trí

Phân bố từ trường của vòng nam châm

Bộ phát hiện vị trí dây là thành phần vô cùng quan trọng trong hệ thống cũng như là nó xác định giới hạn độ phân giải của các cảm biến lực và độ dài tờ cơ. Hình chiếu của dây (12um đường kính) được chiếu vào tâm của điốt quang (Xem hình 2) gồm 2 điốt quang hình chữ nhật (2,5x1,25mm) với một hố gấp 1,25mm. Dây dẫn sẽ tạo ra một vạch đen trên cả hai điốt quang trong khi độ rộng của ảnh chỉ khoảng 0,6mm. Khi vị trí dây bị dịch khỏi vị trí trung tâm, một điốt quang này sẽ nhận được nhiều ánh sáng hơn điốt quang còn lại. Sự khác nhau giữa hai dòng điện tương ứng với các vị trí dây dẫn sẽ chỉ ra độ lệch tương ứng của dây dẫn. Sự khác nhau này được xác định bởi chênh lệch với dòng tổng trung bình của mỗi điốt quang. Hình dưới chỉ ra sơ đồ mạch đơn giản hoá của mạch phát hiện vị trí.

Sơ đồ mạch đơn giản của bộ phát hiện vị trí

Do hầu hết các nhiễu trong tín hiệu vị trí của dây được tạo ra bởi điốt quang và bộ biến đổi dòng-áp nên việc lựa chọn điốt quang, U1 và U2 là rất quan trọng. U1 và U2 cần phải có tương quan hệ số khuếch đại và dải tần lên tới 10Mhz và có dòng định thiên đầu vào rất thấp (cỡ pA) và nhiều điện áp cực thấp (<10nV/sqrt(Hz)). Mạch chỉ ra trong hình 5 cho thấy một hiệu suất tuyệt vời cho bộ biến đổi dòng-áp.U3, U4 và U5 không quan trọng lắm nhưng nên sử dụng các bộ khuếch đại thuật toán có cấu trúc transitor trường nhiễu thấp (cụ thể là nên dùng OPA111). Cáp nối giữa các điốt quang (PD) và U1, U2 phải mềm (bởi PD được gắn trên bộ dịch chuyển) và nên ngắn để giảm điện dung của cáp. Diện tích của PD được phân bố khoảng 75um cách trung tâm từ vị trí tơ cơ để tránh ảnh hưởng bóng tối của tơ cơ đến PD.

Bộ điều khiển mô tơ servo

Sơ đồ khối điều khiển mô tơ servo

Thiết kế chi tiết của bộ điều khiển mô tơ servo là dựa trên mục tiêu chính của bài báo này. Bộ điều khiển mô tơ servo có hai vòng độc lập cho việc điều khiển dây bên trái (điều khiển độ dài) và dây bên phải (cảm biến lực). Bộ phát hiện vị trí dây trái (hình 6) gửi tín hiệu tỷ lệ với độ lệch so với vị trí tâm (hệ số chuyển đổi = 1V/um). Khi lệnh điều chỉnh độ dài (thay đổi độ dài là chủ yếu so với độ dài tuyệt đối của tơ cơ) được cung cấp thì lỗi (lệnh trừ vị trí thực tế) được khuếch đại thông qua bộ khuếch đại vi sai. Hệ số khuyếch đại có thể biến đổi liên tục từ 0 tới 5000 lần mà điều này thực sự quan trong trong việc thực hiện khởi động mô tơ servo một cách an toàn. Tín hiệu lỗi được khuếch đại lên sau đó được cung cấp tới mạch so sánh. Chu trình mô tơ servo được ổn định tại hệ số khuếch đại vòng cao nhất thông quá việc điều chỉnh 3 điểm cực (cờ pha) và 2 điểm không (dẫn pha). Tín hiệu được so sanh và được truyền một cách đan xen và được ngắt bởi hệ thống ngắt với chu kỳ khoảng 1us để tránh hiện tượng tương tác lẫn nhau của 2 dòng điện 2 dây. Cần thiết phải cung cấp các dòng điện qua dây dẫn từ các nguồn có trở kháng rất cao nhằm chống lại dòng cảm ứng do dòng chảy bên trong dây gây ra. Thiết bị ngắt được điều khiển bởi một bộ dao động thạch anh tần số 1Mhz thông qua bộ chia để đảm bảo chu kỳ ngắt tương tự cho cả 2 dây dẫn. Mạch tạo dạng xung được sử dụng để tránh hiện tượng chồng chéo giữa hai dòng điện dẫn. Thời gian truyền tín hiệu phải đạt ngắn hơn khoảng 0,2us so với thời gian ngắt cung cấp các khoảng thời gian trễ và cuối kỳ đáp ứng của bộ ngắt và bộ biến đổi dòng-áp.

Việc thiết kế bộ chuyển đổi dòng áp cũng rất cần thiết nhằm thu được các đáp ứng nhanh nhất cho dây dẫn điều khiển độ dài. Các đáp ứng nhanh đòi hỏi có các bộ gia tốc và giảm dòng nhanh với các dòng điện đủ lớn (khoảng 1000 lần lớn hơn so với dòng yêu cầu duy trì lực tơ cơ thông thường). Các bộ biến đổi dòng áp cần phải đáp ứng một cách trung thực đối với tác động của các tín hiệu ngắt với tốc độ dòng thay đổi lớn hơn 20A/us đối với tần số cắt cỡ 500KHz. Các bộ khuếch đại đặc biệt được thiết kế nhằm phục vụ mục đích này. Bộ biến đổi dòng áp đối với cảm biến lực có thể chậm hơn do dây dẫn có tốc độ thay đổi tương đối chậm. Hầu hết các thông số của bộ biến đổi dòng áp đều đáp ứng được cho quá trình điều khiển mô tơ servo quản lý chiều dài nhưng chúng cần đạt khoảng 0,3A/V và đối với servo cảm biến lực là khoảng 0,03A/V.

Chế tạo cảm biến

Cảm biến được tạo từ dây dẫn dạng chữ U và được hàn đính tại các đầu cuối của các sợi bạch kim có đường kính đạt 0,4mm. Dây đồng (12um) là phù hợp nhất cho các thí nghiệm về tơ cơ đơn.

Việc chế tạo dây dẫn được thực hiện gồm: các dây dẫn được làm sạch bởi aceton và sau đó nhúng trong polystyren (1g Polystyren được hòa tan hoàn toàn trong 10ml trichlorethylene) để thực hiện yêu cầu cách ly. Khi lớp tráng đã khô, dây dẫn được tạo dạng chữ U (độ rộng là 1mm và cao 1,5mm) và được hiệu chỉnh để đặt cong sao cho dây dẫn có hướng vuông góc với trục của tơ cơ.

Hiệu chỉnh hệ thống và điều chỉnh

Hiệu chỉnh độ di chuyển

Do kích thước dây chỉ có 12um nên sự di chuyển cực đại của dây chỉ có thể cho phép được vài micromet mà thôi. Để điều chỉnh chính xác thì cần phải sử dụng mảng điốt quang tuyến tính (xem hình 2) và thực hiện che chắn nhiễu với chất lượng cao (sẽ được mô tả chi tiết trong phần hiệu chỉnh độ dài cho sacromere dưới đây).

Hiệu chỉnh lực

Chuẩn sử dụng cho hiệu chỉnh lực là một sợi cáp quang thạch anh đường kính 50um và chiều dài khoảng 70mm. Một đầu của sợi quang được gắn cố định để nó có thể kẹp giữ chặt trên bệ của đồng hồ đo cỡ micro. Đường cong hiệu chỉnh độ lệch giữa lực và sợi cơ được tạo nên dựa trên sự hỗ trợ của thiết bị hiệu chỉnh cân bằng cỡ micro. Sợi cơ tạo ra khoảng 100ug trọng lượng lực tương ứng với 1mm độ lệch đỉnh. Bởi do sợi cáp quang thạch anh không có hiện tượng trễ nên các lực nhỏ hơn cơ thể thu nhận được thông qua việc làm giảm độ lệch. Bộ hiệu chỉnh được đính trên một bệ đo micro mét theo hệ trục đề các X-Y-Z cùng với hướng của sợi đặt dọc để các đầu đỉnh chạm tới dây dẫn nơi mà sợi tơ cơ có thể được gắn vào. Khi đó, bộ phát hiện vị trí sợi dây được hiệu chỉnh để cho đầu ra bằng không. Do chỉ cần gió lùa nhẹ và sự dao động của các tầng sẽ tạo ra dòng cảm ứng trong sợi cơ mà điều này sẽ tạo ra nhưng dao động vô cùng lớn trong tín hiệu vị trí nên toàn bộ hệ thống lắp đặt cần phải được che phủ và gắn chặt trên các bàn chắn khí. Do các dao động dư thừa nên nhiều phép đo cần phải lặp lại và lấy trung bình theo thời gian. Sử dụng các bản ghi dữ liệu sẽ tạo điều kiện thuận lợi cho quá trình lấy trung bình theo thời gian. Hai quá trình hiệu chỉnh khác cần phải có là: một là mức phản xạ của lực tác động và dây dẫn (điều này cho phép đưa ra những sự điều chỉnh phù hợp giữa bản thân dây dẫn mà không cần tới sự điều khiển của mô tơ servo; cái còn lại là mối quan hệ giữa lực và dòng dẫn điều khiển dây mà nó tác động để dây quay về vị trí ban đầu. Quá trình thứ 2 được coi là quá trình hiệu chỉnh cùng với vòng kín điều khiển servo bởi vì các hiện tượng sốc ảnh hưởng từ các bộ hiệu chỉnh có thể làm cho dây bị chảy ra do dòng lớn mà các dòng điện này chảy qua dây dẫn làm suy giảm hoặc triệt tiêu sốc khi chu trình điều khiển servo được kích hoạt.

Cảm biến dây

Hiệu chỉnh chiều dài sarcomere

Tín hiệu video từ mảng photo điốt cần phải được hiệu chỉnh để hiển thị các hình ảnh của sarcomere trên ôxilô. Tín hiệu video của ảnh có độ phân giải khoảng 150 dòng/mm được hiển thị trên ôxilô và tần số đồng bộ của mạch điều khiển có thể thay đổi nhằm tạo ra một hệ số biến đổi có lợi nhất, ví dụ khoảng 2um/ độ chia của màn hình. Tần số đồng bộ (~321kHz) được khống chế bởi một bộ đếm tần để bảo đảm quá trình hiệu chỉnh được thực hiện suốt trong khi làm thực nghiệm.

Hiệu chỉnh chu trình điều khiển servo vòng kín

Mỗi một chu trình kín của servo chứa đựng trong đó 3 điểm cực và 2 điểm không cho phép điều chỉnh đáp ứng của hệ thống được thực hiện theo như mong muốn. Người ta hy vọng rằng có thể thực hiện tối ưu hóa servo điều khiển độ dài với tốc độ biến đổi cao nhất dựa trên đáp ứng của các lệnh đơn. Nói một cách khác thì servo cảm biến lực có thể được tối ưu hóa với mức độ nhiễu thấp. Quá trình thực hiện tối ưu hóa này có thể thực hiện bởi việc đặt các điểm cực và các điểm không tại các tần số riêng. Đối với servo điều khiển độ dài thì các điểm cực và điểm không này được hiệu chỉnh tối thiểu để đạt được các đáp ứng bước cao nhất trong khi tăng dần các hệ số khuếch đại vòng. Các quá trình điều chỉnh này được thực hiện hoàn tất khi hệ số khuếch đại vòng kín đạt tới giá trị cao nhất. Đối với servo cảm biến lực thì tốt nhất là tạo ra một mức cộng hưởng tại tần số 5kHz mà điều này sẽ làm giảm nhiễu servo tại các tần số thấp.

Nếu các bộ phân tích phổ có thể được sử dụng thì việc hiệu chỉnh chu trình servo sẽ được đơn giản hóa thông qua việc cung cấp nhiễu trắng có biên độ 0,1V với băng tần 50kHz tới đầu vào lệnh của servo điều khiển và tín hiệu vị trí của dây có thể quan sát được. Đáp ứng phổ có thể được làm phẳng tới tần số 50kHz (khi sử dụng bộ lọc biến đổi nhanh 500kHz).

Các vấn đề quan tâm khi thiết kế đầu đo

Thiết kế đầu đo cần phải đảm bảo các yêu cầu sau:

1. Phần đỉnh và đáy cần phải được bọc kín và trong suốt

2. Ít nhất có 2 đường dẫn dung dịch vào (một cho dung dịch làm giãn cơ và một dung dịch khác cho kích thích cơ) và một đầu dẫn ra.

3. Cần phải có đường thoát bọt khí.

4. Không gian gắn cảm biến luồng

5. Khu vực gắn cảm biến nhiệt

6. Đủ không gian cho phép phẫu thuật trong một thể tích tối thiểu.

7. Dễ dàng đưa các bó tơ cơ từ buồng phẫu thuật nguyên thô tới buồng thí nghiệm.

Thiết kế thành công nhất được tạo ra theo dạng truy cập từ bên thành của Teflon mà nó có dạng buồng hình chữ nhật kích thước 3x3x5mm với độ mở 3x3mm ở hai bên cạnh. Xem hình 7B (cảm biến dây). Đầu đo trông giống một hầm dẫn và nước được lưu trữ hoàn toàn nhờ sức căng bề mặt của nó. Đáy của buồng đo là tấm kính dùng cho kính hiển vi được gắn trên một thanh trục chuyển động 3 chiều X-Y-Z. Buồng đo được cố định tương ứng với kính hiển vi.

Bên trong cửa sổ bên trên được bọc bởi một màng Mylar. Hai đường dẫn vào có cửa nổi phía dưới buồng đo và đầu ra được đặt gần phía dưới. Khi áp suất âm được đưa vào cửa ra sẽ có một luống chảy khoảng 1mm được thiết lập giữa đầu vào và đầu ra. Quá trình chuẩn bị tơ cơ được thực hiện tại trung tâm của dòng chảy và có hướng vuông góc với chiều dòng chảy. Kích thước tơ cơ rất nhỏ (khoảng 1 đến 2 micromet rộng và khoảng 5 micromet dài) cho phép tạo môi trường trao đổi trong vòng vài mili giây. Đầu ra khác được đặt tại phía trên cho phép loại bỏ bọt không khí. Ba dây dẫn song song gần với cổng buồng đo (xem hình 8) hoạt động như một cảm biến bề mặt và là một phần của hệ thống điều khiển servo dưới đây.