Trang thiết bị cơ khí

TRANG THIẾT BỊ CƠ KHÍ

Các trang thiết bị cơ khí của trạm bơm gồm những loại sau:

- Các cửa van, lưới chắn cùng với phần chi tiết lắp đăt, dịch chuyển chúng;

- Các thiết bị nâng hạ tĩnh tại hoặc di động với các móc, cần kéo và dầm ngang;

- Các máy vớt rác và dọn rác để làm sạch lưới chắn rác;

- Các xe con chuyển thiết bị và vật liệu.

Thành phần và kết cấu của các thiết bị cơ khí chủ yếu phụ thuộc vào quy mô của trạm bơm, biên độ giao động mực nước nguồn và khả năng tồn đọng của vật nổi.

Các loại cửa van phẳng

Kết cấu cửa van phẳng sữa chữa.

1- bản chắn nước; 2- móc treo; 3,5- phần tựa truyền tải trọng lên chi tiết đặt sẵn; 4- tấm chắn; 6- dầm ngang bằng thép; 7- viền chắn nước; 8- tường ngực.

Trong trạm bơm thường dùng cửa van dưới sâu ( mép trên van ngập dưới mực nước). Theo công dụng ta chia các cửa van này làm các loại:

Cửa van chính ( cửa van công tác ) dùng để điều chỉnh mực nước trong kênh hoặc điều chỉnh cột nước của bơm ( ví dụ dùng khi khởi động máy bơm hướng trục và bơm hướng chéo ). Cửa van nầy cần phải có khả năng nâng, hạ trong dòng nước đang chảy và cho phép nước chảy bên dưới mép dưới cửa van .

Cửa van sữa chữa ( Hình 10 - 1 ) được dùng để chắn tạm thời dòng chảy ở cửa nước vào khi cần sữa chữa máy bơm hoặc sữa chữa cửa van chính. Kết cấu của nó đơn giản hơn của cửa van chính vì nó được nâng hạ trong điều kiện nước tĩnh .

Cửa van sự cố được dùng trong trường hợp cửa van chính hoặc đường ống áp lực hay máy bơm chính bị sự cố. Khi đó cửa van này sẽ hạ nhanh chắn dòng nước trong điều kiện nước đang chảy. Việc nâng cửa van này thực hiện trong điều kiện dòng nước tĩnh .

Cửa van sữa chữa - sự cố làm cả hai chức năng sữa chữa và sự cố. Nó được đặt trước cửa van chính.

Các cửa van sữa chữa dưới sâu thường làm dạng trượt phẳng, còn cửa van chính và sữa chữa - sự cố thường làm dạng phẳng có bánh xe di động. Ngoài ra còn có thể dùng cửa van đĩa hoặc cửa van xoay thay cho cửa van phẳng.

Lưới chắn rác và máy dọn rác.

Lưới chắn rác được đặt ở trước tất cả các cửa lấy nước để ngăn rác và vật nổi vào máy bơm. Thông thường lưới được đặt ngay trước ống hút của máy bơm, tuy nhiên cũng có trường hợp đặt lưới chắn rác ở nơi tách biệt cách xa bể hút ( xem Hình 8 - 8 ).

Cấu tạo của lưới chắn rác gồm có: khung chịu lực 1 và các thanh đứng 3( xem Hình 10 - 2 ). Khung chịu lực gồm có hai hoặc nhiều dầm, gồm có các cột và các cột chắn đứng ( nếu chiều rộng lưới lớn hơn 2 m ). Kích thước lưới chắn rác được xác định theo vận tốc cho phép của dòng nước qua lưới. Khi vớt rác bằng các biện pháp thủ công và nước ít rác thì vận tốc cho phép V ≤ 0,5 m/s; khi vớt rác bằng phương tiện cơ giới với điều kiện đọng rác như trên thì V ≤ 1,2 m/s, còn khi trong nước nhiều rác thì V ≤ 1 m/s. Khi lấy nước từ kênh chính thì vận tốc cho phép V có thể được giảm 20 %.

Các thanh lưới được làm từ những thanh thép dày 4 ... 16 mm, rộng 50 ... 140 mm. Nếu lưới dùng cho máy bơm hướng trục hoặc cánh chéo thì khoảng trống giữa hai thanh lưới lấy t ≤ 0,05D2 và nằm trong khoảng 30 ≤ t ≤ 150 mm ; còn đối với máy bơm li tâm lấy t ≤ 0,03D2 và nằm trong khoảng 30 ≤ t ≤ 100 mm. Trường hợp vớt rác bằng phương pháp thủ công yêu cầu khoảng cách t ≤ 60 mm.

Lưới chắn rác có thể đặt nghiêng một góc α size 12{α} {} = 70 ... 800 để dễ vớt rác, có thể đặt thẳng đứng đối với vớt rác bằng cơ giới. Lưới có thể đặt cố định hoặc có thể tháo lắp được và được đặt trong rãnh tựa khung lưới.

Lưới chắn rác nhỏ dọn rác bằng thủ công nên đặt nghiêng để dễ cào rác và chiều cao lưới không nên quá 2,5 m, khi vớt rác bằng cơ giới có thể đặt lưới thẳng đứng trong rãnh. Lưới chắn rác dưới sâu chỉ nên sử dụng khi chiều cao phần làm việc của lưới nhỏ hơn 50 % chiều cao cửa lấy nước. Việc dọn sạch lưới có thể tiến hành cả khi máy đang

vận hành . Ít khi cho phép nâng lưới để dọn rác hoặc kiểm tra khi lưới đang bị đọng rác.

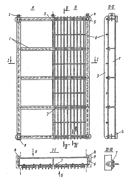
Kết cấu lưới chắn rác.

1- khung; 2- tai kéo; 3- thanh lưới; 4,5,8 - chặn ngược, chặn mút, chặn đứng;

6 - thanh giằng; 7- đai gia cố; 8 - rãnh tựa lưới.

Máy dọn rác dùng để dọn sạch rác bị dòng nước ép vào lưới ( Hình 10 - 3 ) chúng gồm có các loại như cào tay, cào truyền động điện ..v.v... Còn các vật nổi trước lưới được gầu ngoạm treo trên cầu trục chữ môn bốc dỡ ( xem Hình 10 - 5 ).

Hình 10 - 3 biểu thị các bộ phận của một loại máy dọn rác kiểu gàu gồm các bộ phận chính : xe di động, trên đó lắp cơ cấu kéo rác ( vị trí 2 khi hạ, 3 khi nâng ), cơ cấu quay gàu đặt trong buồng 5 và thùng nhận rác 6. Xe di động chạy dọc theo đường ray 9 đến vị trí cần vớt rác. Khi xe đến đúng vị trí vớt rác, các động cơ điện đặt trong buồng 5 sẽ được hoạt động để hạ gàu 3 xuống vị trí 2 rồi kéo lên trên để gôm rác đưa vào thùng 6. Giếng gôm rác 11 nhận rác từ thùng 6 sau đó rác được đưa đi nơi khác.

Kết cấu máy dọn rác kiểu gàu loại PH - 2000.

1- lưới chắn rác; 2,3- vị trí gàu khi hạ và khi nâng; 4- dây cáp; 5- buồng đặt các

cơ cấu điều khiển gàu ; 6 - thùng chứa rác; 7 - bánh xe định hướng; 8- phần di

động; 9- ray; 10- rãnh đặt cáp điện; 11- giếng gôm rác.

Ở những nơi tiếp xúc giữa cửa van hoặc lưới chắn rác với phần bê tông còn đặt sẵn những kết cấu thép để tựa, làm kín nước hay tạo hướng cho van di động. Chôn dầm thép chữ I vào phần bê tông ngưỡng để đỡ cửa van hoặc đỡ lưới chắn rác. Chôn thép tấm vào phần che tường ngực để làm chỗ tựa và làm kín nước phần trên cửa van. Ốp thép góc hình chữ U dọc rãnh đứng để làm rãnh hướng cho xe lăn hay trượt khi nâng hạ cửa van hoặc lưới chắn rác. Tùy thuộc vào kích thước cửa van mà bề rộng rãnh có thể thay đổi từ 0,25 ... 1,5 m và độ sâu tương ứng của rãnh khoét vào trụ pin từ 0,2 ... 0,9 m.

Thiết bị nâng - vận chuyển.

Thiết bị nâng - vận chuyển trong nhà máy và ngoài nhà máy gồm có: pa lăng, cầu trục dầm treo, cầu trục cầu, cần trục chữ môn ( cầu trục chân dê ), cần trục ô tô, máy nâng trục vít, máy nâng thủy lực, máy tời ... Các thiết bị này làm tăng tốc độ và giảm nhẹ lao động khi lắp ráp, sữa chữa các trang thiết bị trong gian máy cũng như vận chuyển các cửa van và lưới chắn rác ngoài nhà máy. Số lượng và kích thước của thiết bị nâng - vận chuyển tùy thuộc vào chức năng, cường độ sử dụng và khối lượng kích thước của vật cần nâng. Sau đây chúng ta tìm hiểu một số loại thường gặp.

Pa lăng và cầu trục dầm treo

Pa lăng dùng để nâng hạ vật có trọng lượng ≤ 1 tấn theo phương thẳng đứng và để dịch chuyển các cửa van sữa chữa nặng ≤ 4 tấn. Trường hợp đơn giản, pa lăng được treo trên giá ba chân ( gọi là cái tó ) để nâng hạ vật nhỏ đặt riêng lẻ. Trong gian máy pa lăng được treo và dịch chuyển theo dầm ray 4 ( xem Hình 10 - 4,a ). Còn ray 4 lại được treo và dịch chuyển dọc theo hai dầm ray 1, hai dầm này được treo vào mái nhà máy, do vậy kết cấu mái cần phải đảm bảo chịu lực do vật nâng và kết cấu pa lăng truyền đến.

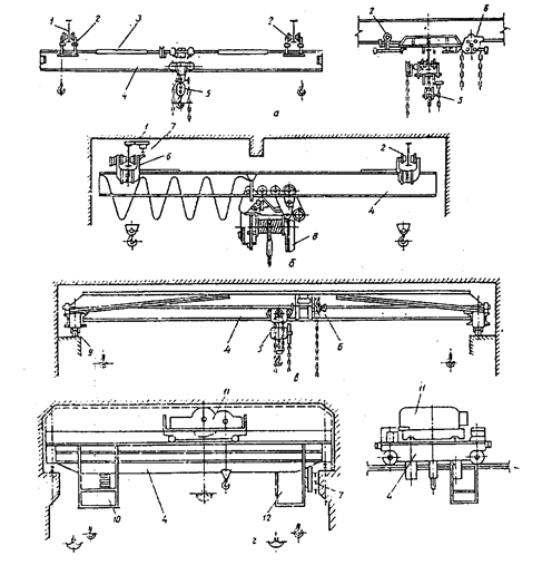
Các loại cầu trục trong gian máy.

a, δ- các cầu trục dầm treo có sức nâng đến 5 tấn, điều khiển bằng tay và bằng điện;

b, - cầu trục một dầm có sức nâng đến 8 tấn ( điều khiển tay ) và đến 250 tấn điều

khiển bằng điện. 1- ray đơn; 2- con trượt dẫn động và bị động; 3- trục truyền động;

4- cầu chạy; 5,8- pa lăng; 6- cơ cấu di chuyển; 7- dây cáp lấy điện; 9- đường ray; 10-

cabin điều khiển; 11- xe tời; 12- thiết bị và nôi điện của đường dây lấy điện chính.

Dầm 4 chuyển dịch theo phương dọc trục nhà máy, còn pa lăng dịch chuyển qua lại theo dầm 4 khống chế vị trí hướng ngang gian máy. Nhờ vậy có thể nâng hạ và đưa vật cần tháo lắp đến vị trí mong muốn trong gian máy. Nhược điểm của thiết bị nâng pa lăng này là để dịch chuyển vật nâng theo phương nằm ngang thì cần phải có trang bị xe tời hoặc con lăn và khi dùng pa lăng nâng vật nặng nếu vật treo lệch với trục ray chữ I thì các bánh xe tì trên 4 sẽ bị bứt khỏi ray. Điều khiển chuyển dịch của pa lăng sức nâng nhỏ thường dùng xích kéo tay. Loại này rẻ và cũng dễ sử dụng. Ngoài ra để giảm sức người và nâng cao hiệu quả sử dụng còn có pa lăng điều khiển bằng điện ( Hình 10-4,δ).

Cầu trục cầu trong gian máy

Trong gian máy có yêu cầu nâng tải lớn thường dùng cầu trục cầu, loại này có sức nâng và chiều cao nâng lớn thích hợp với trạm bơm vừa và lớn. Các bộ phận chính của cầu trục cầu là dầm chạy 4 hai đầu gắn với hai hệ thống bánh xe lăn trên đường ray dọc gian máy, bộ phận cẩu vật nặng gồm có xe tời 11 chạy trên ray của cầu 4. Khi sức nâng ≤ 8 tấn cầu chạy 4 có kết cấu một dầm, có thể điều khiển bằng tay hoặc bằng điện và bộ phận cẩu vật thường dùng pa lăng ( xem Hình 10 - 4,b ). Khi sức nâng lớn hơn, cầu chạy 4 có kết cấu dàn thép và dùng xe tời 11 dịch chuyển qua lại theo hướng ngang gian máy để thao tác cẩu vật. Trên xe tời đặt động cơ điện, tời và móc chính móc phụ để nâng hạ vật, móc chính dùng để thao tác các vật nặng có tốc độ nâng hạ chậm còn móc phụ dùng để nâng hạ vật nhẹ với tốc độ thao tác nhanh hơn và phạm vi hoạt động rộng hơn ( xem Hình 10 - 4, ). Hai đường ray của cầu chạy 4 đặt trên dầm đỡ cầu trục bằng bê tông cốt thép hoặc là dầm thép chữ I lớn, các dầm này tựa trên cột của khung nhà máy. Treo dưới cầu chạy 4 là ca bin 10 điều khiển cầu trục và nôi đường dây điện 12.

Cầu trục chữ môn và máy nâng trục vít.

Cầu trục thủy công chữ môn

1- cầu trục; 2- buồng thiết bị nâng hạ; 3- dầm kẹp; 4- gàu ngoạm vớt rác; 5- cửa van ;

6- trống quấn cáp; 7,8,9- các rãnh của: van sữa chữa, lưới chắn rác, máy dọn rác.

Cầu trục chữ môn thường được dùng để thao tác các cửa van và lưới chắn rác của cửa lấy nước và đập tràn. Nó dùng chung cho một số cửa do vậy giảm bớt giá thành mua sắm và tăng thời gian làm việc của nó. Các bộ phận chính của cầu trục này gồm có: khung của cầu trục 1 ( xem Hình 10 - 5 ) gồm có 4 chân và buồng đặt thiết bị nâng hạ 2, buồng 2 chứa các động cơ điện và tời nâng hạ các móc cầu trục. Khung 1 di chuyển qua lại dọc đường ray nhờ hệ thống bánh xe lăn để đến nơi cần thao tác. Máy vớt rác 4 thường dùng đi kèm với cầu trục này là gàu ngoạm treo, để cẩu van hoặc lưới chắn rác thường dùng dầm kẹp trung gian để nối.

Máy nâng trục vít thường được dùng để thao tác cửa van, nó đặt tĩnh tại. Trạm nhỏ thường thao tác bằng quay tay với lực quay nhỏ, còn trạm trung bình dùng động cơ điện 6 để quay ( xem Hình 10 - 6 ) trục vít.

Máy nâng trục vít có sức nâng 3 tấn, truyền động điện.

6- động cơ điện; 8- tay quay.

Máy nâng thủy lực và máy tời.

Máy nâng thủy lực và máy nâmg tời là máy nâng đặt tĩnh tại, nó được dùng để thao tác các cửa van chính, cửa van sự cố - sữa chữa của công trình tháo lũ. Ưu điểm của các loại máy nâng này là có khả năng điều chỉnh tốc độ mở van, nhược điểm của chúng là giá thành đắt, phức tạp và cần phải có các cơ cấu nâng phụ để lắp đặt và sữa chữa. Kết cấu các loại máy nâng này có thể xem ở Giáo trình Trạm Thủy điện và các tài liệu khác.

Trọng lượng cần nâng lớn nhất phải dựa vào trọng lượng vật nâng lớn nhất cộng với dầm kẹp và trọng lượng dây thừng treo vật, rồi nhân với hệ số an toàn từ 1,1 ... 1,15. Đối với máy bơm hướng trục trục đứng thì vật nâng lớn nhất là rô to động cơ điện, thường lấy gần đúng bằng 60 % tổng trọng lượng động cơ.

Các loại van trên đường ống

Trên đường ống ta hay gặp một số cửa van: van chặn, van điều tiết, van đáy, van một chiều, các thiết bị tháo không khí, thiết bị điều chỉnh áp lực ..v.v.. ta đề cập sau đây.

Van đáy và van một chiều

Van đáy được lắp vào miệng ống hút của bơm li tâm để giữ nước trong ống hút khi mồi nước vào máy bơm li tâm với đường kính ống hút ≤ 400 mm, nó làm việc như van một chiều mặc dầu điều này gây tổn thất cột nước. Hình 10 - 7,a trình bày cấu tạo của một loại van đáy: nó gồm một nắp đậy hình chóp, nắp được mở ra do dòng chảy đẩy lên và được đóng kín lại khi dòng chảy chảy ngược lại. Phía ngoài van có lưới chắn để ngăn không cho rác rưởi vào ống. Để giảm tổn thất thủy lực người ta đặt thêm một thanh chống để đỡ cánh van cho bớt nặng, nước dễ chảy vào hơn.

Cấu tạo van đáy và van một chiều.

a - Cấu tạo van đáy ; b - Cấu tạo van một chiều.

Van một chiều ( van ngược ) được đặt giữa máy bơm và van điều tiết, có nhiệm vụ ngăn không cho nước chảy ngược khi dừng máy bơm. Trong trường hợp nước va lớn có thể đặt nó trong hầm bên ngoài nhà máy cho an toàn và giảm kích thước nhà máy. Van một chiều có một số loại, ở đây ta xem xét loại đơn giản ( xem Hình 10 - 7,b ) : cánh van dạng đĩa 2 dùng chắn dòng chảy, van 2 quay xung quanh trục 3. Nhờ vậy khi máy bơm làm việc nước đẩy cánh van 2 để dẫn nước vào ống, ngược lại khi bơm ngừng làm việc dưới tác dụng của dòng chảy ngược van sẽ bị đẩy về trạng thái đóng.

Van điều tiết.

Van điều tiết thường được đặt trên đường ống đẩy của máy bơm li tâm để điều tiết lưu lượng qua đường ống. Van này cánh có một số dạng ( xem Hình 10 - 8 ): cánh hình nêm hoặc hình phẳng hoặc cánh hình tròn quay quanh trục, điều khiển cánh bằng tay, điện hoặc bằng thủy lực. Cấu tạo chung của van hình nêm, hình phẳng là : gồm có thân 2 bao quanh trục chính 4, cánh van chắn nước 1 có dạng phẳng hoặc dạng nêm dịch chuyển theo phương thẳng đứng dưới tác động của trục chính. Dùng tay để quay vô lăng

Một số loại van điều tiết.

a, δ size 12{δ} {} - van phẳng: điểu khiển tay với trục chính tịnh tiến và trụch chính xoay; b - van hình nêm điều khiển tay với trục chính xoay ; , size 12{ partial } {} - van phẳng: truyền đông điện và thủy lực;

1 - đĩa chắn nước ; 2 - thân van; 3- nắp; 4 - trục chính ; 5- vòng chống rò; 6 - vô lăng;

7- truyền động điện; 8- vô lăng tay; 9- trụ; 10- pittông..

e- sơ đồ nguyên lý hoạt động của van truyền động thủy lực; g - van đĩa quay quanh trục.

biến chuyển động quay thành chuyển động tịnh tiến ( Hình 10 - 8,a, ) để nâng hạ van, hoặc truyền chuyển động quay cho trục chính để nâng hạ van ( Hình 10 - 8, δ,b,  ). Van điều khiển bằng điện ( Hình 10 -8, ) dùng động cơ điện để điều khiển trục chính. Hình 10 - 8,e là sơ đồ điều khiển việc nâng hạ van bằng thủy lực ( cấu tạo Hình 10 8- ) chế độ I là mở van còn chế độ II là đóng van. Van phẳng dạng đĩa tròn quay quanh trục đứng nhờ chuyển động quay của động cơ điện ( Hình 10 - 8,g ). Loại van phẳng quay có kích thước và giá thành nhỏ, đặc trưng thủy lực tốt, tính an toàn cao hơn các loại van nói ở trên. Tuy nhiên chỉ nên mở hoặc đóng hoàn toàn nếu mở với độ mở khác 900 thì mạch động lớn gây tổn thất thủy lực lớn và rung động.

Van thoát không khí

Van thoát khí dùng để thoát không khí định kỳ khỏi đường ống khi hệ thống cấp nước vận hành bình thường, còn van nạp khí dùng để đưa khí vào nơi dòng chảy trong ống bị gián đoạn hoặc đưa không khí vào để giảm áp lực ở thời kỳ quá trình quá độ.

Kết cấu các loại van thoát khí.

Hình 10 - 9,a: Khi vắng không khí trong đường ống, nước sẽ dâng lên đẩy quả cầu 2 đậy lỗ 3. Khi không khí tụ lại ở phần trên của van thì nước và qủa cầu hạ xuống, lỗ 2 mở ra và không khí thoát ra ngoài.

Hình 10 - 9, δ là loại van thoát khí có tay đòn. Khi không khí tích trong ống thì mực nước trong thân van 1 hạ xuống, van phao 3 cũng hạ xưống dưới tác dụng của trọng lượng, tay đòn một đầu ngàm ở nắp 2 cũng quay theo. Đĩa 4 mở lỗ đưa khí ra ngoài, khi không khí trong ống đã thoát hết thì phao cầu 3nâng lên và đĩa 4 đóng lỗ tháo lại.

Hình 10 - 9,b là van thoát khí loại có màng dùng để vừa thoát khí khỏi đường ống ở chế độ vận hành vừa để nạp không khí vào ống khi có chân không phát sinh trong ống. Khi tích nước đường ống, không khí bị đẩy ra sẽ nâng màng 3 và không khí thoát ra ngoài. Nước sẽ qua ống nối 1 vào buồng công tác của van , từ ống nối 1 qua lỗ được tạo thành để tràn ra ngoài. Phao 6 đóng lỗ tiết lưu 5 lại. Áp lực trong buồng công tác dần cân bằng với áp lực trong đoạn ống dẫn, diện tích của màng ở phía buồng công tác lớn hơn ở phía ống nối do đó màng hạ xuống và van thoát đóng lại. Ở chế độ làm việc bình thường, khí từ từ qua lỗ 4 vào buồng công tác làm cho mực nước trong đó hạ, van 6 hạ và lỗ 5 mở ra. Khi chân không tạo thành trong ống, van đóng trong buồng công tác tạo chân không, dưới tác dụng của khí trời màng 3 nâng lên đưa không khí vào đường ống.