Quan điểm chung về tổ chức quan trắc
Trong điều kiện gia tăng không ngừng những tác động nhân sinh tới môi trường xung quanh, cần phải có thông tin đa dạng và chi tiết về hiện trạng môi trường. Thông tin như vậy cho phép không những đánh giá tình hình hiện tại, mà còn cung cấp dự báo trạng thái tương lai của môi trường và cuối cùng xác định chiến lược kiểm soát trong lĩnh vực bảo tồn tự nhiên.
Vì các hợp phần của môi trường - khí quyển, thủy quyển, thạch quyển, sinh quyển - liên hệ mật thiết với nhau, rõ ràng rằng thông tin cũng cần phải mang tính tổng hợp. Ngoài ra, cũng cần tính đến những khác biệt hiện tồn tại về mức độ tác động. Như vậy, trong khi tổ chức quan trắc, nên thực thi cách tiếp cận hệ thống mà trong những năm gần đây gọi là “phân tích toàn diện môi trường tự nhiên”.
Với cách tiếp cận hệ thống, hoàn toàn cho phép giả định về tính tựa đồng nhất của các dạng ô nhiễm trong phạm vi những vùng kinh tế - lãnh thổ khác nhau.
Các vùng như vậy là những hệ thống phức tạp, được đặc trưng bởi một số lớn các tham số biến thiên, các đại lượng liên hệ thuận và nghịch với nhau, sự biến động theo thời gian đáng kể của chúng v.v... Mô tả bằng giải tích một hệ thống như vậy thực tế không thể được, tuy nhiên, cách tiếp cận sẽ được hiện thực hóa nếu sử dụng phương pháp mô hình hóa toán học. Để xây dựng một mô hình tương tự, người ta ứng dụng nguyên lý mô đun, trong đó mỗi mô đun có giá trị độc lập.
Trên quan điểm tổ chức quan trắc liên tục về sự lan truyền các tạp chất có hại, tức nghiên cứu những vấn đề ô nhiễm những khu vực lớn, nên xem xét mô đun lan truyền ô nhiễm. Tỉ phần ô nhiễm được mang từ một phần của khu vực tới phần khác, được lấy trung bình trong một khoảng thời gian, có thể xác định theo biểu thức
, (9.1)
trong đó xác suất vận chuyển ô nhiễm từ môi trường ở phần của khu vực vào môi trường ở phần của khu vực (trong khoảng thời gian lấy trung bình đã chấp nhận); cũng như vậy, nhưng từ bên ngoài khu vực; mức ô nhiễm trung bình trong môi trường ở phần của khu vực; mức ô nhiễm trung bình trong môi trường trên ranh giới của khu vực hình thành do những lượng đi tới từ bên ngoài khu vực.
Nếu tính vận chuyển thực hiện chỉ đối với một môi trường, chẳng hạn đối với khí quyển, thì biểu thức (9.1) sẽ đơn giản hóa rất nhiều và có dạng như sau:
. (9.2)
Quá trình lan truyền các tạp chất từ những nguồn tức thời và liên tục với độ cao khác nhau tới những khoảng cách nhỏ và lớn với các tốc độ rơi lắng khác nhau, có thể viết bằng quan hệ
, (9.3)
trong đó 




Về phần mình, nồng độ của các chất ô nhiễm trong khí quyển biến thiên trong không gian và thời gian 
, (9.4)
trong đó 
Đương nhiên có mối phụ thuộc
, (9.5)
trong đó
lượng chất
phát thải ra bởi các nguồn riêng rẽ
(các giá trị của đại lượng 
Như vậy, những quan hệ (9.1)-(9.5) cho phép ta xác định danh sách những nhân tố ưu tiên cần tính đến khi tổ chức mạng lưới quan trắc. Các nhân tố chính trong số đó là:
- Dẫn liệu về các nguồn ô nhiễm khí quyển hiện tại và tương lai (có tính đến sự phát triển của các vùng kinh tế);
- Đặc trưng của các chất ô nhiễm (độc tính, khả năng tham gia vào những phản ứng hóa học với các chất khác, khả năng rơi lắng xuống mặt đệm v.v...);
- Các dữ liệu khí tượng thủy văn;
- Các kết quả quan trắc trong quá khứ về ô nhiễm khí quyển (chủ yếu những nghiên cứu khảo sát);
- Các dữ liệu về mức ô nhiễm môi trường tự nhiên ở những nước khác;
- Các dẫn liệu về vận chuyển các tạp chất đi xa (vận chuyển xuyên biên giới).
Mạng lưới quan trắc thành lập ở Liên Xô là một bộ phận cấu thành của Hệ thống Toàn cầu Theo dõi Môi trường (GSME) thực hiện trong những năm gần đây trong khuôn khổ các chương trình của UNEP.
Chương trình GSME dự định công việc trong một số hướng, tuy nhiên, nhiệm vụ quan trọng nhất trong khuôn khổ chương trình này là theo dõi sự vận chuyển quy mô lớn và sự rơi lắng các chất ô nhiễm (kiểm soát ô nhiễm).
Đến lượt mình, những mục tiêu cuối cùng của việc theo dõi ô nhiễm toàn cầu và khu vực trong hệ thống GSME là:
- Xác định nồng độ các chất ô nhiễm ưu tiên trong môi trường, sự phân bố của chúng trong không gian và biến đổi theo thời gian;
- Đánh giá độ lớn và tốc độ các dòng chất ô nhiễm và các sản phẩm chuyển hóa có hại của chúng;
- Đảm bảo các phương pháp thống nhất thu mẫu và phân tích để có được những kết quả so sánh được giữa các nước và trao đổi kinh nghiệm về tổ chức các hệ thống theo dõi;
- Đảm bảo thông tin ở quy mô toàn cầu cần thiết để đưa ra quyết định về quản lý các biện pháp đấu tranh với ô nhiễm.
Như vậy, tổ chức hệ thống quan trắc có căn cứ khoa học phải dựa trên sự phân tích toàn diện môi trường thiên nhiên. Còn dữ liệu của hệ thống đó - cơ sở thông tin để giải quyết các nhiệm vụ điều tiết chất lượng môi trường.
Hướng quan trọng nhất trong công cuộc đấu tranh với ô nhiễm không khí khí quyển là hệ thống kiểm soát những phát thải công nghiệp vào khí quyển. Hệ thống này cần thiết để nhận thông tin khách quan về những vụ phát thải tạp chất hại vào khí quyển bởi những nguồn công nghiệp. Để giải quyết nhiệm vụ này, đã thành lập Ban Thanh tra Nhà nước về Bảo vệ Không khí Khí quyển đảm bảo kiểm soát về sự tuân thủ những tiêu chuẩn quốc gia về phát thải cho phép tới hạn và những biện pháp giảm thiểu lượng phát thải các chất hại vào khí quyển.
Thanh tra Nhà nước về Bảo vệ Không khí Khí quyển thực hiện kiểm soát:
- Sự tuân thủ của các xí nghiệp, cơ quan và tổ chức, những người hữu trách và công dân đối với những sắc lệnh và chỉ thị cũng như những quy tắc luật định khác về bảo vệ không khí khí quyển;
- Sự thực hiện những kế hoạch và nhiệm vụ về bảo vệ không khí khí quyển;
- Sự tuân thủ những tiêu chuẩn phát thải cho phép tới hạn các chất ô nhiễm và những phát thải thỏa thuận tạm thời vào khí quyển;
- Sự tuân thủ những yêu cầu về bảo vệ không khí khí quyển khỏi ô nhiễm trong khi di chuyển, thiết kế, xây dựng và đưa vào khai thác những xí nghiệp mới hoặc tái thiết kế;
- Sự thực hiện những nhiệm vụ kế hoạch về xây dựng và đưa vào khai thác những công trình, trang thiết bị để làm sạch những nguồn phát thải chất ô nhiễm vào khí quyển.
Hiện nay, các chức năng kiểm soát về bảo vệ không khí khí quyển đã chuyển sang Ủy ban Nhà nước về Thiên nhiên Liên Xô (năm 1991 Ủy ban Nhà nước về Thiên nhiên Liên Xô đã chuyển đổi thành Bộ Bảo tồn Môi trường), còn mạng lưới quan trắc hoạt động trong hệ thống Ủy ban Nhà nước về Khí tượng Thủy văn Liên Xô thuộc hệ thống theo dõi, tức là một hệ thống thông tin thụ động.
Trong kế hoạch phát triển hệ thống này, có dự định tiếp tục mở rộng số lượng các trạm cố định. Thí dụ, đến năm 1995 dự định tăng thêm 100-150 trạm cố định so với năm 1985, điều này tương ứng với việc lập ra công vụ quan trắc ở khoảng 20-30 điểm dân cư của lãnh thổ Liên Xô. Trong đó sự phát triển hơn nữa công tác quan trắc sẽ được đảm bảo bằng việc hoàn thiện cơ cấu tổ chức của các chi nhánh mạng lưới, đầu tư những hệ thống quan trắc tự động hóa, tăng thêm khối lượng quan trắc về ô nhiễm môi trường tự nhiên, trước hết ở những vùng phân bố nhà máy điện nguyên tử, thực hiện đầy đủ các chương trình quan trắc v.v...
Đồng thời, phải nhấn mạnh sự cần thiết xem xét lại một cách nghiêm túc nhiều quan niệm truyền thống về sự phát triển mạng lưới quan trắc. Chẳng hạn, trong điều kiện những khó khăn kinh tế nghiêm trọng của đất nước, thì xu hướng quyết đoán về tăng số lượng của mạng lưới quan trắc đang gây nên những nghi ngờ nhất định. Có lẽ, trong từng trường hợp cụ thể cần quyết định xem trước hết phải sử dụng những kinh phí hiện có vào phát triển mạng lưới hay vào những biện pháp bảo vệ (xây dựng và hiện đại hóa những hệ thống làm sạch, chuyển đổi ngành vận tải sang nhiên liệu khí v.v...).
Có thể gọi một chiến lược như vậy trong giải quyết vấn đề cải thiện chất lượng không khí khí quyển là chiến lược ưu tiên tối ưu, trong đó các nhiệm vụ được giải quyết theo một lộ trình ưu tiên xuất phát từ những khả năng kinh tế hiện thực.
Quan trắc về chất lượng không khí khí quyển ở các điểm dân cư và sự ô nhiễm nền
Năm 1980 đã thông qua bộ luật Liên Xô “Về bảo vệ không khí khí quyển”. Theo luật này, những năm gần đây đã mở rộng đáng kể những chức năng của các công vụ thực hiện quan trắc và kiểm soát về tình trạng ô nhiễm khí quyển. Ở đây, trong khi giải quyết vấn đề ô nhiễm khí quyển, bên cạnh những phương pháp tính toán, thì vai trò của dữ liệu thực nghiệm (kết quả quan trắc thường xuyên về nồng độ các tạp chất có hại) trở nên cực kỳ to lớn.
Thông tin hệ thống về hàm lượng các chất ô nhiễm trong bầu không khí được thu nhận nhờ mạng lưới quan trắc. Hiện nay, mạng lưới quan trắc này bao phủ trên 450 thành phố của Liên Xô (bao gồm cả những địa điểm dân cư ở đó quyền kiểm soát không chỉ thuộc các vụ của Ủy ban Nhà nước về Khí tượng Thủy văn Liên Xô, mà cả các bộ ngành khác). Như vậy, so với năm 1966, số thành phố và điểm dân cư có tiến hành quan trắc thường xuyên đã tăng lên khoảng 10 lần. Trách nhiệm về tổ chức phục vụ quan trắc được giao cho Ủy ban Nhà nước về Khí tượng Thủy văn Liên Xô.
Những nghiên cứu lý thuyết và thực nghiệm về lan truyền tạp chất trong khí quyển thực hiện ở Tổng đài Vật lý Địa cầu mang tên A. I. Voeikov đã cho phép xây dựng những nguyên lý cơ bản tổ chức mạng lưới quan trắc, thực hiện phân tích phòng thí nghiệm (hóa học) các mẫu không khí, thu thập, xử lý và khái quát thông tin về ô nhiễm.
Để kiểm soát chất lượng không khí ở những điểm dân cư, chúng ta đang thiết lập ba loại trạm quan trắc: trạm cố định, trạm định tuyến và trạm di động.
Trạm cố định có chức năng đảm bảo thường xuyên thu mẫu không khí để sau đó phân tích phòng thí nghiệm, cũng như liên tục ghi hàm lượng các chất ô nhiễm bằng các máy phân tích khí tự động. Hiện nay, mạng lưới trạm cố định được cung cấp những trạm đo “ẽợủũ-2” (trước đây là “ẽợủũ-1”), được trang bị các máy phân tích khí loại Ãèấ-3 và Ãèấ-1 (những đặc trưng cơ bản về các dụng cụ này được trình bày trong mục 9.4). Để tìm hiểu những biến động dài hạn về hàm lượng các chất ô nhiễm cơ bản và phổ biến nhất, trong số những trạm cố định có các trạm trọng điểm. Các trạm cố định được bố trí phù hợp với thỏa thuận của các cơ quan địa phương của Ủy ban Nhà nước về Khí tượng Thủy văn Liên Xô và Vụ Vệ sinh - Dịch tễ học. Sự di dời các trạm trọng điểm chỉ được phép theo quyết định của Ủy ban Nhà nước về Khí tượng Thủy văn Liên Xô.
Trạm định tuyến có chức năng thường xuyên thu thập mẫu không khí tại những địa điểm cố định bằng các xe trạm trang bị cho mục đích đó.
Trạm di động có chức năng thu thập mẫu tại những nơi có dấu hiệu khói hoặc vết khí của nguồn tạp chất nhằm mục đích xác định vùng tác động của nó.
Không phụ thuộc vào loại trạm, mỗi trạm được bố trí có tính đến những đòi hỏi nhất định: khuôn viên thoáng, mái che không phát bụi, xa các tòa nhà và công trình xây dựng có khả năng làm sai lệch kết quả quan trắc v.v...
Việc định vị các trạm cố định và trạm định tuyến phụ thuộc nhiều vào kết quả khảo sát tổng hợp ban đầu về tình trạng ô nhiễm môi trường không khí thành phố bởi phát thải công nghiệp, phát thải vận tải ô tô, các nguồn sinh hoạt và các nguồn khác. Trong thời kỳ khảo sát như vậy, người ta nghiên cứu những đặc điểm vị trí địa lý tự nhiên của cụm dân cư, chế độ khí tượng, phân bố các nguồn ô nhiễm, xác lập danh mục những chất ô nhiễm chủ yếu v.v...
Kết hợp các dữ liệu khảo sát tổng hợp với những kết quả nhận được bằng các phương pháp tính toán, có thể thành lập một mạng lưới đủ hiệu quả cho phép nhận được bức tranh đúng về thực trạng ô nhiễm bầu không khí.
Những kết quả quan trắc trạm di động được thực hiện trên những khoảng cách khác nhau gần những dấu hiệu của các xí nghiệp công nghiệp là sự bổ sung quan trọng vào thông tin của các trạm cố định và trạm tuyến.
Số lượng tối thiểu các trạm cố định được xác định tùy thuộc vào dân số. Thí dụ, tại những cụm dân cư với số dân trên 1 triệu người, mạng lưới cần phải gồm 10-20 trạm cố định và trạm tuyến. Lêningrat với dân số hơn 5 triệu, có tất cả 12 trạm loại “ẽợủũ-1” (“ẽợủũ-2”). Còn những căn cứ thực tế khác ảnh hưởng tới số trạm và vị trí của chúng, đó là diện tích cụ dân cư và địa hình khu vực, trình độ phát triển công nghiệp, đặc điểm ngành giao thông vận tải v.v...
Mạng lưới các trạm quan trắc hình thành được ghi lên sơ đồ thành phố, thí dụ về bản đồ này được thể hiện trên hình 9.1. Trên sơ đồ này ghi các điểm quan trắc, vị trí phân bố các xí nghiệp và các nguồn ô nhiễm khác, ranh giới các vùng vệ sinh được bảo vệ và các vùng nghỉ ngơi.
Bốn chương trình quan trắc được thực hiện tại các trạm cố định và trạm tuyến: quan trắc đầy đủ, quan trắc không đầy đủ, quan trắc rút gọn và quan trắc ngày.
Hình 9.1. Mẫu sơ đồ thành phố
1 - nhà máy luyện kim, 2 - nhà máy nitơ - phân khoáng, 3 - trạm thủy điện, 4 - lò nhiệt luyện, 5 - nhà máy xi măng, 6 - nhà máy cơ khí, 7 - xí nghiệp công nghiệp nhẹ, 8 - tổ hợp xây dựng nhà, I - ranh giới khu vệ sinh bảo vệ, II - ranh giới khu nghỉ dưỡng, III - trạm khí tượng, IV - trạm quan trắc ô nhiễm khí quyển
Quan trắc theo chương trình đầy đủ được thực hiện hàng ngày bằng các máy phân tích khí tự động liên tục hay gián đoạn vào 1, 7, 13 và 19 giờ thời gian sắc lệnh địa phương.
Để có thông tin về nồng độ từng hạn quan trắc có thể cho phép tiến hành quan trắc theo chương trình không đầy đủ, thực hiện mỗi ngày vào 7, 13 và 19 giờ thời gian sắc lệnh địa phương.
Ở những nơi nồng độ trung bình tháng thấp hơn 1/20 nồng độ tới hạn cho phép hoặc nhỏ hơn ngưỡng độ nhạy của dụng cụ, cũng như khi nhiệt độ không khí thấp hơn -45 oC, có thể cho phép tiến hành quan trắc theo chương trình rút gọn: nhận thông tin hàng ngày về nồng độ từng lần vào 7 và 13 giờ thời gian sắc lệnh địa phương.
Trong khi thu mẫu cũng đồng thời ghi các đặc trưng khí tượng: hướng và tốc độ gió, nhiệt độ không khí, trạng thái thời tiết và mặt đệm.
Tại các trạm cố định trọng điểm tiến hành quan trắc về các chất ô nhiễm chủ yếu (bụi, điôxit lưu huỳnh, ôxit cacbon và điôxit nitơ) và các chất đặc biệt với danh mục được xác định thông qua khảo sát tổng hợp về tình trạng ô nhiễm bầu không khí ở điểm dân cư.
Tại các trạm cố định (không trọng điểm) tiến hành quan trắc về những tạp chất độc hại đặc biệt. Việc xác định nồng độ các chất ô nhiễm chính tại những trạm này được phép tiến hành theo chương trình quan trắc rút gọn.
Tại các trạm tuyến thực hiện quan trắc về những chất ô nhiễm chính cũng như những chất ô nhiễm đặc biệt.
Tại các trạm di động chỉ quan trắc về những tạp chất đặc biệt đặc trưng đối với các loại phát thải của xí nghiệp cụ thể.
Mạng lưới quan trắc xem xét ở trên được tổ chức ở những nơi có tác động nhân sinh mạnh, trong khi cần kiểm soát về mức ô nhiễm cả ở các vùng xa những nguồn tạp chất độc hại địa phương. Ở những vùng như vậy, mức ô nhiễm được hình thành bởi vận chuyển các tạp chất từ xa (xuyên biên giới).
Để quan trắc về mức ô nhiễm, Tổ chức khí tượng thế giới đang thực hiện một chương trình tổng quát quan trắc trên mạng lưới gồm hơn 150 trạm nền. Mạng lưới này sẽ gồm các loại trạm:
- Các trạm cơ sở để theo dõi toàn cầu về các nồng độ nền thấp của các thành phần khí quyển quan trọng;
- Các trạm khu vực để theo dõi những biến động dài hạn về thành phần không khí khí quyển gây nên bởi những tác động nhân sinh khu vực;
- Các trạm khu vực với chương trình quan trắc mở rộng.
Chương trình theo dõi tối thiểu tại các trạm cơ sở bao gồm đo độ đục khí quyển, độ dẫn điện của không khí, nồng độ điôxit cacbon trong không khí, tạp chất, kim loại nặng, đo độ axit giáng thủy. Đó là những trạm chủ yếu thuộc loại nghiên cứu.
Tại các trạm khu vực, chương trình tối thiểu bao gồm quan trắc về độ đục khí quyển, các tạp chất giáng thủy. Các trạm khu vực với chương trình mở rộng có những quan trắc bổ sung về các thành phần dạng khí của không khí khí quyển, thành phần các hạt, kim loại nặng trong không khí v.v...
Hiện nay, có gần 10 trạm cơ sở đang hoạt động, tại đó tiến hành phân tích ô nhiễm không chỉ trong khí quyển mà còn ở các môi trường khác.
Các phương pháp cơ bản phân tích những chất làm ô nhiễm khí quyển
Phân tích các chất ô nhiễm chứa trong môi trường không khí có thể xếp vào loại những nhiệm vụ khó nhất của hóa học phân tích. Đó là do những nguyên nhân sau:
- Một mẫu đồng thời có thể chứa hàng chục, thậm chí hàng trăm hợp chất hữu cơ và vô cơ;
- Nồng độ các chất độc trong khí quyển có thể là nhỏ không đáng kể (dưới 
- Không khí là một hệ thống không ổn định với thành phần liên tục biến đổi (sự hiện diện nước, ôxy, các phản ứng quang hóa, biến đổi các điều kiện khí tượng).
Một trong những nhiệm vụ chính phân tích ô nhiễm không khí là nhận thông tin về thành phần định tính và định lượng của mẫu không khí được phân tích, cần cho dự báo các mức ô nhiễm không khí, đánh giá thực trạng, thực thi các biện pháp bảo vệ bầu không khí...
Để thực hiện nhiệm vụ này, người ta sử dụng các phương pháp hóa - lý hiện đại phân tích chất và trước hết là các phương pháp sắc ký và các phương pháp phổ kết hợp với phương pháp sơ khởi tập trung tạp chất vi lượng.
Hiện nay, các phương pháp xác định những nồng độ thấp của các hợp chất hóa học độc hại trong không khí đã được xây dựng cho hơn 400 chất được chuẩn hóa ở Liên Xô và Mỹ.
Với mục đích để phân tích ô nhiễm không khí, bốn nhóm phương pháp sau đây được phổ biến nhất:
- các phương pháp sắc ký,
- các phương pháp trắc phổ - khối lượng,
- các phương pháp phổ,
- các phương pháp điện hóa.
Các phương pháp sắc ký hiệu quả nhất khi phân tích những hỗn hợp phức tạp. Thí dụ, phương pháp sắc ký khí - phương pháp lý tưởng nghiên cứu các tạp chất vi lượng của các hợp chất hữu cơ dễ bay hơi. Từ cuối những năm bảy mươi, bắt đầu phát triển mạnh các phương pháp sắc ký chất lỏng áp suất cao với hiệu năng cao. Những phương pháp này cho phép phân tích những mẫu không khí bị nhiễm các tạp chất là hợp chất hữu cơ độc, trong đó có các hyđrô cacbua thơm đa mạch vòng, thuốc bảo vệ sinh vật v.v... Trong khi đó, để phân tích ô nhiễm không khí, người ta bắt đầu ứng dụng nhiều phương án của phương pháp sắc ký chất lỏng ion, cho phép xác định những tạp chất vi lượng của các hợp chất hữu cơ và vô cơ với khả năng phản ứng cao.
Hình 9.2. Sơ đồ sắc ký khí
1 - chất mang khí, 2 - bộ điều chỉnh tiêu thụ, 3 - thiết bị nhập mẫu, 4 - ống sắc ký khí, 5 - máy phân tách, 6 - máy tự ghi, 7 - buồng ổn nhiệt
Trên hình 9.2 biểu diễn sơ đồ sắc ký khí, trong đó sự phân tách các chất dễ bay hơi diễn ra theo trình tự sau. Nhờ một bộ phận chuyên - thường là que nhọn thủy tinh nhỏ, mẫu được đưa vào từ một đầu của ống sắc ký dài hẹp (ống dài 0,9-3,0 m và đường kính 0,25-50 mm), chất mang khí đi qua đó. Với tư cách chất mang khí, người ta dùng khí trơ, khí này đi qua ống sắc ký với tốc độ không đổi và mang các hợp phần của mẫu tới đầu ra tùy thuộc vào thời gian lưu giữ chúng trong ống sắc ký. Sự tách khí diễn ra nhờ chất rắn (hấp thụ) hoặc lỏng (hấp phụ) nằm trong ống sắc ký và được gọi là pha bất động. Nhờ quá trình hấp thụ các hợp phần riêng lẻ trên hoạt chất hấp thụ hay quá trình hòa tan chúng ở pha bất động, tùy thuộc vào các tính chất vật lý của các hợp phần hỗn hợp, mà một số hợp phần trong số đó chuyển qua nhanh hơn, những hợp phần khác chậm hơn, cho phép phân biệt chúng ở đầu ra bằng một máy phân tách phù hợp. Kết quả là có thể nhận được phân bố dải của các hợp phần - băng sắc ký, cho phép tách và phân tích những chất riêng lẻ của mẫu.
Những năm gần đây, phương pháp tia lửa ion hóa được ứng dụng rộng rãi để kiểm tra tự động các hyđrô cacbua.
Quá trình phân tách sử dụng phương pháp tia lửa ion hóa được thực hiện bằng cách đưa mẫu dạng khí vào tia lửa hyđrô. Tia lửa nằm giữa các điện cực với điện áp một số trăm vôn. Khi không có tạp chất (chỉ cháy hyđrô), dòng điện ion hóa xuất hiện nhỏ không đáng kể ( A). Khi đưa mẫu dạng khí có chứa hyđrô cacbua vào tia lửa hyđrô, thì trong tia lửa tạo thành các ion, chúng hướng tới điện cực dương. Dòng điện ion hóa xuất hiện ( A), được khuếch đại bởi máy khuếch đại trắc điện dòng một chiều và được ghi nhận bằng máy tự ghi.
Những ưu điểm của phương pháp tia lửa ion hóa gồm:
- độ nhạy cao đối với các chất hữu cơ,
- đặc trưng biến đổi tuyến tính,
- tính không nhạy cảm đối với phần lớn các tạp chất nguồn gốc vô cơ.
Sử dụng phương pháp tia lửa ion hóa để phát hiện sau khi phân tách các hợp phần mẫu từ sắc ký khí cho phép phân biệt các hyđrô cacbua có mặt và xác định số lượng chúng. Phải nhận xét rằng bản thân phương pháp tia lửa ion hóa chỉ cho khả năng xác định tổng lượng các hyđrô cacbua có mặt và không cho phép phân biệt các chất.
Các phương pháp trắc phổ khối lượng. Những tổ hợp phức tạp của các chất ô nhiễm trong không khí khí quyển, sự hiện diện đồng thời các hợp chất hữu cơ và vô cơ gây khó khăn rất nhiều cho công tác phân tích. Để đánh giá về chất và lượng của các tổ hợp, cần phân tách rõ các chất và nhận được những đặc trưng đơn trị đối với mỗi chất trong chúng. Phép phân tích phổ - khối sau khi phân tách sắc ký hợp chất sẽ đảm bảo thực hiện đồng thời hai đòi hỏi này. Phân tích như vậy được gọi là “phép trắc phổ khối sắc ký” (CMS).
Các mẫu không khí ô nhiễm, như đã nêu ở trên, thường là những hỗn hợp phức tạp, chứa hàng trăm hợp chất được phân tách dưới dạng những đỉnh trên băng sắc ký. Vì vậy, việc giải đoán các băng sắc ký là công việc cực kỳ nặng nhọc.
Tình hình đã thay đổi đáng kể khi sử dụng máy tính điện tử với phần mềm tương ứng giúp đơn giản hóa việc giải đoán số liệu từ máy trắc phổ khối sắc ký (GMS) hoặc máy trắc phổ khối khí sắc ký (GC-MS).
Về thực chất, trong phương pháp phân tích trắc phổ khối sắc ký các chất ô nhiễm không khí có hai cách tiếp cận:
1) xác định những hợp chất đặc biệt hay các lớp quan tâm;
2) phân tích chung (định tính và định lượng) tất cả các hợp chất có mặt trong mẫu không khí ô nhiễm.
Trong trường hợp thứ nhất, thì việc liên tục kiểm tra các ion lựa chọn là thích hợp nhất: ý nghĩa của phương pháp này là ở chỗ trong số các ion lựa chọn với tương quan khối lượng trên điện tích (m/e) xác định, chỉ có một bộ phận không lớn có đóng góp vào cường độ của đỉnh tương ứng trên phổ khối. Nếu như chỉ tách những ion “cần thiết”, thì số lượng chúng ghi nhận được bằng máy tách rất đặc biệt như hệ máy tính - trắc phổ khối sẽ tăng lên nhiều, đảm bảo độ nhạy cao hơn nhiều trong khi ghi và ước lượng định lượng.
Trong cách tiếp cận thứ hai đòi hỏi biết tất cả các hợp phần có trong mẫu không khí ô nhiễm được phân tích. Trong trường hợp này, người ta nhận định về thành phần các chất ô nhiễm theo đường cong biến biến thiên của dòng điện ion. Đồ thị dòng điện ion nhận được trong chế độ phân tích sắc ký khối ion cho biết sự phụ thuộc của biến thiên cường độ các đỉnh của những ion tương ứng như là một hàm của thời gian. Nếu so sánh những biểu đồ này với đồ thị biến thiên của dòng điện ion toàn phần, dễ dàng tìm được phổ khối của hợp phần tương ứng mà người nghiên cứu quan tâm.
Các đặc trưng định lượng có thể nhận bằng những phương pháp khác nhau. Một trong những phương pháp phổ biến nhất là sử dụng các băng sắc ký nhận được theo phương pháp trong đó máy trắc phổ khối lượng giữ vai trò máy tách đặc biệt. Trong trường hợp này, để so sánh, người ta đưa vào máy sắc ký một dung dịch chuẩn với nồng độ đã biết. Người ta so sánh diện tích đỉnh sắc ký chuẩn với diện tích đỉnh của hợp phần cần phân định và tính toán nồng độ của chất gây ô nhiễm có kể đến các hệ số độ nhạy.
Phương pháp khí sắc ký có những ưu việt không thể chối cãi như là một phương pháp phân tích, nhưng không cho phép phân định hàng trăm hợp chất có mặt trong thành phần những hỗn hợp phức tạp làm ô nhiễm không khí khí quyển. Đương nhiên rằng, để giải quyết vấn đề này đòi hỏi phải có máy tách có khả năng cho các đặc trưng đơn trị riêng biệt của từng hợp phần. Máy tách đó là máy trắc phổ khối lượng. Nếu liên kết thành một sơ đồ thống nhất, các phương pháp này sẽ bổ sung lẫn nhau và cho phép tách và phân định những nồng độ thấp của các hợp chất hữu cơ trong các hỗn hợp phức tạp.
Các phương pháp phân tích phổ là phương pháp phổ biến nhất để nghiên cứu thành phần định tính và định lượng của ô nhiễm không khí. Phương pháp phổ phát sáng ngoại hấp thụ nguyên tử, phổ plazma, phổ phát sáng ngoại rơn ghen, các phương pháp laser và những phương pháp khác cho phép xác định nhiều tạp chất vi lượng trong không khí.
Một trong những phương pháp thích hợp nhất phân tích không khí trong nhóm này là phương pháp trắc màu. Phương pháp này dựa vào đo sự suy yếu của dòng ánh sáng do sự hấp thụ chọn lọc ánh sáng bởi chất cần xác định trong vùng phổ nhìn thấy. Hợp phần cần xác định được chuyển hóa vào hợp chất nhuộm màu nhờ một phản ứng hóa học đặc biệt, sau đó xác định cường độ màu của dung dịch. Nếu chất nghiên cứu trực tiếp hấp thụ ở vùng phổ nhìn thấy, thời gian kéo dài phân tích sẽ giảm, vì không cần phải dùng dung dịch màu. Các dụng cụ được sử dụng trong phương pháp trắc màu về cơ bản chia làm hai loại:
- Các dụng cụ trong đó người ta so sánh bằng mắt màu của dung dịch công tác và dung dịch chuẩn;
- Các dụng cụ trong đó người ta xác định cường độ tuyệt đối hoặc tương đối của các dòng ánh sáng đã đi qua dung dịch.
Chúng ta cũng đã biết tới những máy phân tích khí trắc màu ánh sáng kiểu băng, trong đó sự tương tác của chất cần xác định và hóa chất diễn ra trên các băng giấy, băng vải hoặc băng bằng polyme. Các máy phân tích kiểu băng có những ưu điểm so với các máy kiểu chất lỏng: chúng nhạy hơn, vận hành đơn giản, không đòi hỏi thời gian chuẩn bị dung dịch.
Thuộc loại các phương pháp phổ còn có các phương pháp phổ cực tím và phổ hồng ngoại. Trong vùng phổ cực tím người ta thường phân tích các hợp chất thơm và các chất vô cơ như SO2, NO2 và Hg. So với phương pháp trắc màu, phương pháp này có độ nhạy cao hơn, tuy nhiên nó cũng có một nhược điểm - độ lựa chọn thấp. Đó là vì rất nhiều hợp chất hữu cơ làm ô nhiễm không khí có các dải hấp thụ rộng ở vùng phổ cực tím và các dải đó có thể gián đoạn. Điều này trước hết làm giảm độ chính xác phép đo, đôi khi làm cho không thể phân tích được các hỗn hợp nhiều hợp phần.
Phương pháp phổ hồng ngoại cho phép tiến hành phân định và xác định định lượng nhiều chất ô nhiễm công nghiệp nguồn gốc hữu cơ và vô cơ.
Để liên tục phân tích các tạp chất trong không khí người ta thường sử dụng các máy phân tích hồng ngoại tự động loại không chọn lọc và loại chọn lọc. Chúng cho phép xác định nồng độ các chất trong không khí ở vùng %. Độ chọn lọc của phép phân tích khi ứng dụng máy phân tích loại chọn lọc được đảm bảo bằng cách chọn bước sóng phân tích sao cho với bước sóng đó chất cần xác định trong hỗn hợp hấp thụ bức xạ hồng ngoại, còn các hợp phần không đo vẫn là “trong suốt”.
Các máy phân tích hồng ngoại không chọn lọc thường gồm hai kiểu:
- Kiểu lọc âm bản, khi một trong các kênh dùng làm bộ lọc sẽ chứa đầy khí cần xác định như là tạp chất trong không khí, còn kênh khác - chứa chất khí ngăn cản việc xác định tạp chất tại một áp suất nhất định nếu nó có mặt trong không khí, hoặc giữ nguyên không chứa khí.
- Kiểu lọc dương bản, khi sử dụng bộ thu chọn lọc dưới dạng một buồng chứa chất khí cần phân tích và nó được thiết kế sao cho một trong các thành của buồng là một màng kim loại nhạy cảm. Biên độ dao động của áp suất khí trong buồng tỉ lệ với nồng độ của chất khí cần phân tích.
Các máy phân tích hồng ngoại không chọn lọc được sử dụng để phân tích ôxit và điôxit cacbon, hyđrô cacbua, ôxit nitơ và điôxit lưu huỳnh. Công nghiệp nước ta sản xuất các máy phân tích hồng ngoại âm học Ãèấ-3 và ÃẩÀè-1 để xác định nồng độ CO trong dải nồng độ 0-400 mg/m3 trong không khí.
Phương pháp phát sáng ngoại thuộc loại các phương pháp phát sáng độ nhạy cao để xác định các dư lượng tạp chất hữu cơ và vô cơ trong không khí. Một trong các hướng của phương pháp này là phương pháp phát sáng phân tử pha khí. Phương pháp này dựa trên nguyên lý kích hoạt các phân tử của những chất như SO2, NO2, Cl2, bằng bức xạ với bước sóng đặc trưng cho sự hấp thụ của các hợp chất đó ở vùng phổ nhìn thấy và vùng phổ cực tím. Người ta kích hoạt phát sáng ngoại bằng laser và các đèn khí cường độ cao, còn bước sóng cần đo thì tách được bằng các bộ lọc ánh sáng.
Để xác định các ôxit nitơ, cacbon và lưu huỳnh, ôzôn, amiac và các chất khác, người ta sử dụng các máy phân tích khí độ nhạy cao làm việc theo nguyên lý phát sáng ngoại hóa học.
Các phản ứng hóa học đi kèm với hiện tượng phát sáng ngoại hóa học có thể diễn ra ở nhiệt độ nâng cao cũng như ở nhiệt độ bình thường. Thí dụ, xác định nồng độ ôxit cacbon có thể nhờ sự phát sáng hóa học xuất hiện khi cháy ôxit cacbon trong ôxy nguyên tử:
CO + O CO2+ h.
Trong khi đó sự phát sáng hóa học được phát hiện ở phần nhìn thấy của phổ tại nm. Giới hạn phát hiện CO - 0,5 mg/m3. Ôxit nitơ được xác định theo phản ứng tỏa nhiệt giữa NO và O3, kết quả nhận được NO2, O2 và gần 10 % NO2 kích động điện tử. Khi chuyển hóa NO2 sang trạng thái không kích động, sẽ xuất hiện bức xạ với cường độ tỉ lệ với lượng NO trong buồng phản ứng. Khi xác định hàm lượng tổng cộng NO + NO2 trong không khí, trước tiên người ta khôi phục NO2 về NO. Các máy phân tích khí để xác định ôxit nitơ thường gồm hai kiểu: kiểu một buồng và kiểu hai buồng. Trong máy phân tích khí một buồng việc xác định hàm lượng NO và NO2 diễn ra trong hai chu kỳ: ở chu kỳ thứ nhất xác định hàm lượng NO, ở chu kỳ thứ hai xác định hàm lượng tổng các ôxit trong chất khí được cho qua bộ chuyển đổi xúc tác. Hàm lượng NO2 được xác định theo hiệu số các lần đo. Ở đây giả thiết rằng nồng độ tổng cộng của các ôxit trong thời gian giữa các chu kỳ không biến đổi. Các hệ thống hai buồng cho phép đồng thời đo nồng độ NO và NO2. Các tạp chất của nitrat và nitrit có thể gây khó khăn cho việc xác định nồng độ các ôxit nitơ trong không khí, nhưng thường thì nồng độ chúng trong không khí khí quyển không đáng kể so với nồng độ NO + NO2 và không ảnh lớn tới kết quả phân tích.
Những ưu việt của phương pháp là:
- dải đo rộng ( phần triệu);
- hoạt động nhanh (dưới 0,5 s);
- thiết bị khá đơn giản.
Khi tương tác trực tiếp các ôxit nitơ với hyđrô nguyên tử xuất hiện sự phát sáng ngoại hóa học ở vùng 628-780 nm với các cực đại 690 và 762 nm. Để đo nồng độ NO2, sử dụng phản ứng chuyển hóa trực tiếp NO2 thành NO trong sự tương tác với hyđrô nguyên tử. Phương pháp này cho phép đo nồng độ từ 4 đến phần triệu. Những ưu điểm của phương pháp là: sự hiện diện của các cực đại phát xạ ở phần phổ nhìn thấy, khả năng đo những nồng độ cao, dải tuyến tính của tín hiệu đầu ra rộng. Nhược điểm chủ yếu của phương pháp là phải có hyđrô nguyên tử, điều đó đòi hỏi nhiệt độ cao (tới 1900 oC) và liên quan tới nguy cơ phát nổ cao.
Sự xuất hiện những nguồn phát xạ hạt nhân có tính đơn sắc, công suất phát xạ phổ và định hướng cao đã tạo ra khả năng phát triển các phương pháp thám sát khí quyển tích cực trên những tuyến ngang rất dài - tới hàng nghìn kilômet ở dải nhìn thấy, cực tím và hồng ngoại của phổ điện từ.
Các phương pháp thám sát tích cực được phân chia thành phương pháp hấp phụ, phương pháp tán xạ kết hợp và phương pháp phát quang cộng hưởng. Tùy thuộc vào phương pháp thám sát được lựa chọn và dải phổ, có thể phát hiện thấy những hợp chất dạng khí trong khí quyển như CO2, CH4, NH3, NO, NO2, H2S, HF, Cl, F2. Các hệ thống dựa trên laser-CO2 có thể được sử dụng để phát hiện đại đa số các hợp chất hữu cơ trong không khí khí quyển. Những phương pháp phân tích định lượng về các chất ô nhiễm không khí này có độ nhạy cao, tuy nhiên đối với những hệ thống tương tự, tùy thuộc vào bản chất của hợp phần được đo cản trở ảnh hưởng của các tạp chất trên tuyến và phương pháp thám sát, phạm vi phát hiện có thể bằng - %.
Các phương pháp điện hóa. So với các phương pháp lý - hóa được phát triển trong những năm gần đây, các phương pháp điện hóa phần nào đã mất giá trị từng có của mình. Tuy nhiên những thành tựu kỹ thuất, tính đơn giản và giá rẻ tương đối của các dụng cụ, sự thuận tiện sử dụng đang cho phép ứng dụng các phương pháp điện hóa trong thực tiễn. Đặc biệt những phương pháp này đã được ứng dụng rộng trong kiểm soát hệ thống về ô nhiễm không khí khí quyển và không khí các khu công tác, các phòng thí nghiệm của nhà máy điện nguyên tử và phòng thí nghiệm của mạng lưới quan trắc thuộc Ủy ban Nhà nước về Khí tượng Thủy văn Liên Xô.
Các phương pháp đo độ dẫn và đo điện tích đã được dùng phổ biến trong phân tích các chất ô nhiễm khí quyển.
Bản chất của phương pháp đo độ dẫn là đo độ dẫn điện của dung dịch được phân tích. Độ dẫn điện của dung dịch là do các ion của những chất có khả năng phân ly ở những điều kiện nhất định, và phụ thuộc vào nồng độ các ion trong dung dịch cũng như tính di động của chúng. Các máy phân tích khí xây dựng trên nguyên lý đo độ dẫn được dùng để xác định các ôxit khí, các hợp chất chứa lưu huỳnh, các halôgien và các hyđrô halôgien. Tùy thuộc vào hệ phương pháp xác định và những nhân tố cản trở, phạm vi phát hiện điôxit lưu huỳnh nằm trong khoảng giá trị 0,005-1 mg/m3. Tuy nhiên, các máy đo độ dẫn phân tích khí điôxit lưu huỳnh sản xuất hàng loạt có phạm vi phát hiện 0,002-0,005 mg/m3. Nguyên lý hoạt động của máy phân tích loại này như sau: Không khí cần phân tích được đưa qua dung dịch chứa axit sunphua, brômit kali và một lượng brôm nào đó. Điôxit lưu huỳnh chứa trong không khí với sự có mặt của brôm bị ôxy hóa theo phản ứng
.
Trong cảm biến sử dụng hai điện cực: bạch kim và bạc được phủ một lớp mỏng brômit bạc. Hiệu điện thế giữa các điện cực tuân theo định luật Nerst:
,
trong đó hiệu điện thế không đổi, R-hằng số khí, F-hằng số Pharađây.
Trị số được so sánh với trị số của điện áp tiêu chuẩn và theo hiệu số giữa chúng người ta thực hiện kiểm tra về sự biến thiên của dòng điện đi qua dung dịch, tức về sự biến thiên của độ dẫn điện của dung dịch trong quá trình điện phân:
.
Sự tăng lượng brôm tiêu phí do phản ứng với SO2 sẽ dẫn tới tăng dòng điện trong mạch điện hóa, về phía mình điều đó làm tăng lượng brôm tạo thành trong khi điện phân.
Phương pháp đo độ dẫn không đòi hỏi sử dụng thiết bị phức tạp, có độ nhạy cao, hoạt động nhanh và gọn. Nhược điểm của phương pháp đo độ dẫn là ở chỗ tất cả các khí hòa tan trong hóa chất có tạo thành các ion đều ảnh hưởng mạnh tới độ dẫn điện của dung dịch điện phân, nhiệt độ môi trường bên ngoài ảnh hưởng tới độ chính xác các số đo, dụng cụ cần được thường xuyên thay thế dung dịch điện phân và có thang đo không tuyến tính.
Phép đo điện tích - phương pháp điện hóa không cần chất tiêu chuẩn, có độ chính xác và độ nhạy tương đối cao. Trong trường hợp chung, phương pháp dựa trên việc xác định lượng điện tích cần thiết để thực hiện quá trình điện hóa phân tách trên điện cực hoặc tạo thành chất trong dung dịch điện phân mà theo đó thực hiện phân tích mẫu cần nghiên cứu.
Các máy phân tích khí đo điện tích là những máy hiệu quả nhất trong tất cả những máy phân tích khí vận hành theo nguyên lý điện hóa và cho phép xác định những hợp phần trong không khí như: SO2, HCl, Cl2, HF, O3, HCN. Tùy thuộc vào cấu tạo của cảm biến, sơ đồ điện tử và thành phần dung dịch hấp thụ, phạm vi phát hiện về điôxit lưu huỳnh dao động từ 10 đến 100 μg/m3. Hàm lượng clo được xác định ở vùng nồng độ từ 0,02-0,03 đến 22-24 mg/m3.
Phương pháp đo điện tích có một loạt ưu điểm không thể nghi ngờ: độ nhạy cao, các số đo không phụ thuộc vào những nhân tố ảnh hưởng tới kết quả đo bằng các phương pháp khác (nhiệt độ, trạng thái bề mặt các điện cực, cường độ xáo trộn v.v...), dải động lực rộng. Các máy phân tích đo điện tích hiện đại có cấu tạo tương đối đơn giản, gọn và nhẹ, giá thành tương đối thấp. Những nhược điểm của các phương pháp đo điện tích có thể là tính chọn lọc thấp, định kỳ thay thế chất điện phân.
Đảm bảo thiết bị quan trắc
Mặc dù những khó khăn đã biết trong giải quyết các vấn đề bảo tồn thiên nhiên ở nước ta, mạng lưới quan trắc của Ủy ban Nhà nước về Khí tượng Thủy văn Liên Xô hiện nay đang có trong tay những dụng cụ cho phép thực hiện kiểm soát có hiệu quả về tình trạng môi trường, trong đó có khí quyển. Một số dụng cụ cùng với thời gian được thay thế bằng những dụng cụ hoàn thiện hơn, một số khác thì có thâm niên phục vụ dài hơn. Không chú trọng tới những vấn đề đảm bảo phương tiện kĩ thuật kiểm soát của các công sở của Ủy ban, ở đây chúng ta sẽ xem xét những loại dụng cụ chủ yếu được dùng để phân tích mức ô nhiễm môi trường không khí. Ngoài ra, trong khuôn khổ mục này cũng sẽ trình bày những thông tin về tổ hợp phương tiện kĩ thuật đang được sử dụng: phòng thí nghiệm “Пост-2” hệ thống tự động hóa AHKOC-AГ.
Máy phân tích khí ГИАМ-1. Loại máy phân tích khí này đã một thời gian dài được dùng để đo hàm lượng các tạp chất vi lượng, ôxit cacbon trong không khí. Trong dụng cụ sử dụng phương pháp quang - âm học phân tích chất khí, dựa trên đo sự hấp thụ năng lượng tia ở phần phổ hồng ngoại. Mỗi chất khí hấp thụ bức xạ hồng ngoại ở vùng phổ nhất định. Chỉ ngoại trừ những chất khí một nguyên tử và ôxy, nitơ và hyđrô - những chất khí này không hấp thụ bức xạ hồng ngoại.
Phương pháp phân tích quang - âm học dựa trên hiện tượng sau đây: nếu chất khí có khả năng hấp thụ các tia hồng ngoại được chứa vào một thể tích kín và tác động lên nó bằng dòng bức xạ hồng ngoại, thì sau một khoảng thời gian nhất định chất khí nóng lên và tương ứng áp suất tăng lên. Nếu ta làm gián đoạn dòng bức xạ hồng ngoại với một tần số nhất định thì chất khí sẽ tuần hoàn nóng lên và nguội đi, điều đó cũng dẫn tới những dao động áp suất.
Trong ГИАМ-1sử dụng sơ đồ máy phân tích hồng ngoại vi phân với bộ lọc dương. Sơ đồ nguyên lý của ГИАМ-1 được biểu diễn trên hình 9.3.
Hình 9.3. Sơ đồ nguyên lý máy phân tích hồng ngoại với bộ lọc dương
1 - động cơ đồng bộ, 2 - các nguồn phát xạ, 3 - cửa quay obturato, 4 - buồng đo, 5 - cửa thoát khí, 6 - tấm lọc khí vào, 7 - cửa khí vào, 8 - các buồng lọc, 9 - bộ phận tự ghi, 10 - màng micro tụ, 11 - bộ khuếch đại, 12 - micro tụ, 13 - các ống trụ thu nhận tia, 14 - bộ thu bức xạ hồng ngoại, 15 - buồng so sánh.
Như đã thấy trên hình 9.3, dòng bức xạ hồng ngoại từ hai nguồn phát nikel crôm 2 đi vào hai kênh quang học. Các dòng bức xạ lần lượt bị gián đoạn bởi cửa obturato 3, cửa này quay nhờ động cơ đồng bộ 1.
Trong kênh bên phải dòng bức xạ gián đoạn đi qua buồng đo 4, sau đó qua buồng lọc 8 và đi vào ống thu nhận tia bên phải 13 của bộ thu nhận bức xạ hồng ngoại 14. Hỗn hợp khí được phân tích đi qua buồng 4 một cách liên tục. Trình tự đi của dòng ở kênh bên trái cũng tương tự, có điều ở đây dòng hồng ngoại gián đoạn bắt đầu đường của mình qua buồng so sánh 15.
Các ống trụ nhận tia 13 được đổ đầy hỗn hợp ôxit cacbon với acgông, do đó các dao động nhiệt độ và áp suất xuất hiện do bức xạ hồng ngoại chỉ được gây nên bởi sự hấp thụ bức xạ hồng ngoại của ôxit cacbon.
Những dao động nhiệt độ và áp suất xuất hiện do tác động của bức xạ gián đoạn được tiếp thu bởi micro tụ 12. Trong đó xảy ra sự chênh lệch thời gian giữa các dao động áp suất ở hai ống trụ thu nhận tia. Nếu các dòng bức xạ hồng ngoại bằng nhau, màng của micro tụ 10 tiếp thu tổng áp suất, sẽ ở trong trạng thái nghỉ.
Khi trong buồng đo có ôxit cacbon, dòng bức xạ hồng ngoại đi vào ống trụ thu nhận tia sẽ nhỏ hơn. Trong trường hợp đó trong thể tích bộ thu nhận bức xạ hồng ngoại ở phía trên màng sẽ xuất hiện thành phần biến thiên của áp suất chất khí, giá trị của nó sẽ phụ thuộc vào mức độ hấp thụ bức xạ ở trong buồng đo. Dao động của màng được micro tụ biến đổi thành điện áp xoay chiều, đi đến đầu vào của bộ khuếch đại 11, sau đó đến bộ phận tự ghi 9. Số đo của dụng cụ 9 là chỉ số nồng độ CO trong hỗn hợp khí được phân tích.
Để trấn áp ảnh hưởng của điôxit cacbon tới số đo của máy phân tích khí, chất này thường có mặt trong hỗn hợp khí cùng với CO và có phổ hấp thụ gần với phổ của ôxit cacbon, các buồng lọc của ÃẩÀè-1 được chứa đầy điôxit cacbon.
Máy phân tích khí cho phép đo trong ba dải: 0-40, 0-80 và 0-160 mg/m3. Sai số quy dẫn cơ bản (tính bằng % của giới hạn đo trên) không lớn hơn ±5 %.
Máy phân tích khí ГKП-1. Máy phân tích khí điện tích phân cực ГKП-1 là dụng cụ cố định tự động để đo hàm lượng điôxit lưu huỳnh trong không khí khí quyển.
Nguyên lý vận hành của máy phân tích khí như sau. Hỗn hợp khí cần phân tích được lấy vào từ không khí khí quyển xung quanh nhờ thiết bị thu nhận chuyên, được làm sạch khỏi các tạp chất cơ học trong bộ phận lọc và đi vào bộ phận cảm biến điện hóa. Điôxit lưu huỳnh chứa trong hỗn hợp được phân tích phản ứng với iôt tới iôđua hyđrô (HI), sau đó bị ôxy hóa trên điện cực đo:
SO2 + I2 = 2H2O → 2 HI + H2SO4.
Cảm biến điện hóa làm việc theo chế độ một yếu tố đo dòng điện. Dòng điện xuất hiện trong khi điện phân là chỉ số nồng độ điôxit lưu huỳnh
,
trong đó nồng độ điôxit lưu huỳnh trong không khí, mg/m3; I-dòng điện, μA; Q- tiêu phí hỗn hợp khí, l/giờ.
Máy phân tích khí có bốn dải đo: 0-1, 0-2, 0-5 và 0-10 mg/m3. Sai số cơ bản của dụng cụ không quá ±6 % của giới hạn đo trên.
Máy phân tích khí ГMK-3 dùng để xác định nồng độ ôxit cacbon trong hỗn hợp khí.
Nguyên lý vận hành (giống như trong dụng cụ ГKП-1.đã xét ở trên) dựa vào đo sự hấp thụ bức xạ hồng ngoại bởi ôxit cacbon. Mức độ hấp thụ bức xạ phụ thuộc vào nồng độ ôxit cacbon. Có nhiều nét chung trong sơ đồ đo của các máy ГMK-3 và ГKП-1.
Dụng cụ có ba thang đo: 0-40, 0-80 và 0-400 mg/m3. Sai số cơ bản trên thang 0-80 mg/m3 không quá ±5 % của giới hạn đo trên. Trên các thang 0-40 và 0-400 mg/m3 sai số cao hơn một chút, nhưng không quá ±10 %.
Máy phân tích khí 652ХЛ01. Máy phân tích khí tự động được dùng trong công tác kiểm soát dụng cụ về nồng độ ôzôn. Cơ sở vận hành của dụng cụ là phương pháp phát quang ngoại hóa học. Bản chất hiện tượng này như sau: phản ứng của êtilen (C2H4) với ôzôn trong những điều kiện nhất định kèm theo sự phát sáng
O3 + C2H4 → CHOH *; CHOH * → CHOH + h
trong đó h- hằng số Plank, tần số phát xạ.
Nồng độ ôzôn trong hỗn hợp phân tích được xác định thông qua phân tách nhờ nhân tử quang điện tử bức xạ xuất hiện tỉ lệ với nồng độ O3 trong mẫu.
Máy phân tích khí có bốn dải đo nồng độ khối ôzôn: 0-0,05, 0-0,15, 0-0,5 và 0-1,5 mg/m3. Sai số quy dẫn cơ bản trên tất cả các dải không quá ±20 %.
Máy phân tích khí645ХЛ01. Máy phân tích khí tự động 645ХЛ01 được dùng trong công tác kiểm soát dụng cụ về hàm lượng ôxit nitơ (NO), điôxit nitơ (NO2) và tổng các ôxit nitơ (NO + NO2) trong không khí.
Hoạt động của dụng cụ dựa trên phương pháp phát sáng ngoại hóa học, trong đó sự tương tác của ôxit nitơ với ôzôn ở những điều kiện tương ứng kèm theo sự phát sáng ngoại:
; .
Phát xạ diễn ra ở vùng phổ 620-2500 nm với cực đại tại 1200 nm, tức ở dải hồng ngoại. Cường độ phát xạ tỉ lệ với số phân tử tham gia tương tác, tức nồng độ ôxit nitơ.
Bộ phận thu phát xạ trong máy phân tích khí loại 645ếậ là nhân tử quang điện tử. Ôzôn cần thiết để diễn ra phản ứng được lấy từ ôxy của không khí xung quanh khi phóng điện cao thế trong lò sinh ôzôn. Để xác định nồng độ NO2 và tổng NO + NO2 đã thiết kế một kênh bổ sung chuyển hóa NO2 thành NO
.
Trong kênh này thực hiện phân tách phát xạ của NO + O2.
Nồng độ NO2 được xác định theo hiệu giữa các trị số tín hiệu điện, tỉ lệ với các nồng độ NO + NO2 và NO.
Để dụng cụ có được độ nhạy cực đại, trong buồng phản ứng tương tác của hỗn hợp phân tích với ôzôn đã tạo ra điều kiện phóng điện tối ưu 0,6-0,8 atm.
Máy phân tích khí có bốn dải đo nồng độ khối: 0-0,25, 0-0,75, 0-2,5 và 0-7,5 mg/m3. Trị số sai số quy dẫn cơ bản trên tất cả các dải đo không quá ±20 % đối với NO, NO2 và ±30 % đối với NOx.
Máy phân tích khí 667ФФ01. Máy phân tích khí được dùng để kiểm soát dụng cụ về điôxit lưu huỳnh.
Cơ sở vận hành của dụng cụ là phương pháp phát sáng ngoại để xác định điôxit lưu huỳnh trong không khí khí quyển. Thực chất phương pháp là ghi nhận phát xạ của các phân tử điôxit lưu huỳnh xuất hiện dưới tác động của bức xạ cực tím kích thích. Sự kích thích các phân tử điôxit lưu huỳnh diễn ra ở vùng phổ 220-240 hm, được tách ra nhờ bộ lọc ánh sáng nguyên sinh từ phổ bức xạ của đèn phát xung kseno. Ở vùng phổ này các phân tử nước và ôxit lưu huỳnh không ảnh hưởng tới sự phát sáng. Quá trình kích thích được mô tả bằng công thức
trong đó bước sóng của bức xạ kích thích.
Phân tử bị kích hoạt chuyển sang trạng thái cơ bản với bức xạ lượng tử ánh sáng

trong đó bước sóng của phát xạ trong khi phát sáng ngoại.
Phát xạ ánh sáng ngoại nằm trong dải bước sóng 260-400 nm. Cường độ phát xạ tỉ lệ với nồng độ điôxit lưu huỳnh.
Máy phân tích khí có ba dải đo nồng độ khối: 0-0,5, 0-1,5 và 0-5,0 mg/m3. Trị số sai số quy dẫn cơ bản cho phép của dụng cụ trên tất cả các dải đo không quá ±20 %.
Máy phân tích khí 623ИН02. Cải biên này của máy phân tích khí 623ИН được dùng để kiểm soát nồng độ khối của tổng các hyđrô cacbua, mêtan và tổng các hyđrô cacbua loại trừ mêtan.
Vận hành của máy dựa trên sự ứng dụng phương pháp đo tia lửa ion hóa. Cơ sở xác định định lượng nồng độ của các hyđrô cacbua trong không khí là sự biến đổi của dòng điện ion hóa ghi nhận được khi các phân tử hữu cơ được đưa vào tia lửa hyđrô.
Máy phân tách tia lửa ion hóa đã được phát triển ngay từ năm 1957. Nguyên lý hoạt động của nó dựa trên hiện tượng khi đưa chất hữu cơ vào tia lửa hyđrô sẽ tạo thành ion và xuất hiện dòng điện ion giữa các điện cực của bộ phận phân tách chịu điện áp. Khi không có các tạp chất hữu cơ trong mẫu, dòng điện ion hóa xuất hiện trong tia lửa hyđrô tinh khiết nhỏ không đáng kể. Nhưng trong trường hợp đưa các chất hữu cơ vào tia lửa giữa các điện cực của bộ phận phân tách tia lửa ion hóa, thì dòng điện ion hóa tăng lên. Bộ biến đổi đo điện trở cao “dòng - điện áp” sẽ biến đổi dòng điện ion hóa thành điện áp đầu ra.
Dụng cụ được thiết kế theo sơ đồ hai kênh, trong đó dòng không khí khí quyển được phân tích được chia thành hai phần bằng nhau. Một phần của dòng không khí được phân tích đi đến một bộ phận phân tách, nơi ghi nhận tổng chung của các hyđrô cacbua, hoàn toàn không có gì thay đổi. Phần thứ hai của dòng đi qua bộ phận phân chia các hyđrô cacbua, ở đó mêtan bị tách khỏi các hyđrô cacbua còn lại (êtilen, prôpan, tôlul, benzôl...). Bộ phận phân tách thứ hai chỉ ghi nhận mêtan. Trị số nồng độ tổng các hyđrô cacbua đã loại mêtan nhận được như là hiệu các tín hiệu điện từ hai cảm biến.
Máy phân tích khí có ba dải đo nồng độ khối của tổng các hyđrô cacbua, mêtan và tổng các hyđrô cacbua đã loại mêtan: 0-5, 0-15 và 0-50 mg/m3. Sai số quy dẫn cơ bản đo mêtan (CH4) và tổng các hyđrô cacbua (Σ CH) bằng ±15 %. Sai số đo tổng các hyđrô cacbua đã loại mêtan (Σ CH - CH4) không quá ±20 %.
Máy phân tích khí “Палладий-3”. Loại máy phân tích khí này thay thế cho mẫu “ẽàởởàọốộ-2”. Dụng cụ được dùng để kiểm soát dụng cụ về ô nhiễm khí quyển và không khí bởi ôxit cacbon trong các khu vực sản xuất. Sự kiểm soát thực hiện bằng cách đo hàm lượng ôxit cacbon trong không khí và đưa ra thông tin dưới dạng tín hiệu đầu ra thống nhất tỷ lệ với đại lượng được phân tích.
Nguyên lý hoạt động của máy phân tích khí dựa trên phương pháp đo dòng điện của bộ phận điện hóa.
Máy phân tích khí “Палладий-3 cấu tạo từ hai khối: khối khí và khối đo. Trong khối khí bố trí các yếu tố chuẩn bị khí và mạch điện hóa. Trong khối đo có mạch điện tử có chức năng đảm bảo chế độ thế tĩnh cho hoạt động của mạch điện hóa và đo dòng điện ôxy hóa điện hóa cacbon. Máy phân tích khí làm việc theo chế độ liên tục.
Phòng thí nghiệm tổng hợp loại “Пост-2”. Phòng thí nghiệm này dùng để thực hiện một tập hợp các quan trắc về mức ô nhiễm của không khí khí quyển và đo những đặc trưng khí tượng.
Phòng thí nghiệm cho phép thực hiện đo và ghi tự động trên băng đồ các nồng độ ôxit cacbon và điôxit lưu huỳnh; thu tự động 33 mẫu không khí để phân tích 5 loại tạp chất dạng khí, cặn khói và bụi; thu thủ công 5 mẫu không khí để phân tích các tạp chất dạng khí, cặn khói và bụi, đo tự động và ghi hướng và tốc độ gió, nhiệt độ (
Phòng thí nghiệm “Пост-2” là một tập hợp những phương tiện kỹ thuật, bao gồm lều kim loại với những cơ cấu phụ trợ nội ngoại thất; nhóm dụng cụ kiểm soát tự động nồng độ các chất ô nhiễm - các máy phân tích khí về ôxit cacbon loại ГMK-3 và điôxit lưu huỳnh loại ÃKẽ-1; nhóm dụng cụ để thu mẫu không khí tự động và bằng tay cho phân tích các tạp chất dạng khí, cặn khói và bụi - các máy thổi khí loại íÀ-1, íÀ-2, íÀ-2ẹ và máy thu mẫu không khí tự động “Kомпонент”; nhóm các dụng cụ để kiểm soát tự động và bằng tay các đại lượng khí tượng - phong áp kí loại M63Mé, các cảm biến nhiệt độ và độ ẩm, khối điều phối để ghi các giá trị nhiệt độ và độ ẩm bằng dụng cụ phong áp kí tự động, nhiệt kế loại ềẽ-6, ẩm kế loại MÁ-4M, áp kí loại M-67.
Phòng thí nghiệm có thể làm việc theo chế độ liên tục hoặc theo chế độ gián đoạn với thao tác viên phục vụ nửa giờ 2-4 lần một ngày.
Phòng thí nghiệm cho phép đồng thời kiểm soát hàm lượng của 12 chất ô nhiễm, trong số đó: đo ghi tự động hàm lượng hai chất, thu mẫu tự động - năm chất, thu mẫu thủ công - năm. Trong một ca công tác đảm bảo đồng thời thu 38 mẫu, trong số đó thu tự động 33, thủ công 5.
Tại phòng thí nghiệm cố định “Пост-2 còn kiểm soát bảy tham số khí tượng, trong đó bốn - tự động đo ghi, bảy - đo ghi thủ công.
Năng suất phòng thí nghiệm với chế độ bốn ca công tác một ngày là mẫu/năm và thời hạn phục vụ - 10 năm.
Hệ thống tự động hóa kiểm soát ô nhiễm không khí khí quyển АНKОС-АГ. Hệ thống này dùng để kiểm soát liên tục về các đặc trưng ô nhiễm và các tham số khí tượng biến thiên trong thời gian và không gian ở những bồn không khí của các thành phố lớn và trung tâm công nghiệp, cũng như dùng để dự báo nghiệp vụ về mức ô nhiễm.
Hệ thống như vậy đã được đưa vào sử dụng ở một số thành phố của Liên Xô, chẳng hạn như ở Lêningrat tại cơ sở của Trung tâm nghiên cứu và kiểm soát ô nhiễm môi trượng tự nhiên Lêningrat.
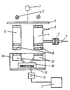
Trên hình 9.4 biểu diễn sơ đồ cơ cấu của hệ thống АНKОС -АГ. Như đã thấy, hệ thống АНKОС -АГ có hai cấp. Tại cấp thứ nhất (cấp dưới) hệ thống thực hiện đo nồng độ các chất ô nhiễm và giá trị các đại lượng khí tượng, biến đổi các giá trị đo được thành các đại lượng vật lý, ghi các giá trị lên vật mang tin, hình thành các thông báo, lưu giữ thông tin và truyền thông tin tới cấp thứ hai (cấp trên) ở Trung tâm xử lý thông tin để xử lý tiếp.
Những trạm tự động kiểm soát các chất ô nhiễm khí quyển thuộc cấp thứ nhất.
Tại cấp thứ hai thực hiện thu thập thông tin ban đầu từ các trạm tự động kiểm soát các chất ô nhiễm khí quyển, cũng như từ các nhóm công tác di động và phòng thí nghiệm phân tích khí cố định, xử lý thông tin, quản lý công tác của các bộ phận thành viên của hệ thống, giải quyết một tập hợp nhiệm vụ về kiểm soát và dự báo các mức ô nhiễm nguy hiểm, xuất kết quả xử lý lên giấy và các vật mang tin máy tính, cũng như truyền thông tin cho những người sử dụng.
Cấp thứ hai của hệ thống bao gồm tổ hợp tính toán quản lý thông tin, các phương tiện biểu diễn thông tin, truyền dữ liệu, liên lạc, ghi, nhân bản và chuẩn bị thông tin được bố trí ở trung tâm xử lý thông tin.
Những chức năng chủ yếu của hệ thống:
- Tự động thu thập thông tin về ô nhiễm khí quyển bởi những tạp chất chủ yếu và về các tham số khí tượng;
- Phát hiện những nồng độ cao của các chất độc hại vượt quá những tiêu chuẩn qui định và truyền phát cảnh báo bão;
- Dự báo ngắn hạn mức ô nhiễm;
- Phân tích những nguyên nhân vượt trội nồng độ tới hạn cho phép và phát báo những chỉ dẫn cho các xí nghiệp công nghiệp nhằm cắt giảm phát thải những chất độc hại vào khí quyển trong thời kỳ điều kiện khí tượng bất lợi;
- Kiểm soát hiện trạng của tổ hợp thiết bị kĩ thuật trong hệ thống.
Trạm tự động kiểm soát ô nhiễm khí quyển đo 13 tham số, trong đó có hàm lượng của chín chất ô nhiễm và bốn tham số khí tượng.
Hình 9.4. Sơ đồ cơ cấu của hệ thống АНKОС-АГ
NCTDĐ - nhóm công tác di động, PTNPT - phòng thí nghiệm phân tích khí cố định, THTBKT TTXLTT - tổ hợp thiết bị kĩ thuật của trung tâm xử lí thông tin
Những chất ô nhiễm được kiểm soát và dải nồng độ được đo như sau:
- ôxit cacbon, 0-160 mg/m3;
- điôxit lưu huỳnh (SO2), 0-5 mg/m3;
- ôxit nitơ (NO), điôxit nitơ (NO2) , tổng các ôxit nitơ (NOx), 0-7,5 mg/m3;
- tổng các hyđrô cacbua loại trừ mêtan (Σ CH-CH4), 0-45 mg/m3;
- ôzôn (O3), 0-1,5 mg/m3.
Các tham số khí tượng được kiểm soát và các dải đo như sau:
- tốc độ gió, 1,5-40 m/s;
- nhiệt độ không khí, -40 40 oC ;
- hướng gió, 0-360 o.
Sai số phép đo quy dẫn tới hạn về nồng độ các chất ô nhiễm bằng 20 %, về các tham số khí tượng - 10 %.
Số lượng cực đại các trạm cố định kiểm soát ô nhiễm khí quyển bằng 100. Ở Lêningrat đã bố trí năm trạm như vậy, chu kỳ đo tại đó bằng 30 phút, 1, 2, 4 và 6 giờ.